首页
专利数据库
产业人才
行业动态
产业政策法规
维权援助
个人中心
登录/注册
详情
文本
图像
标题:
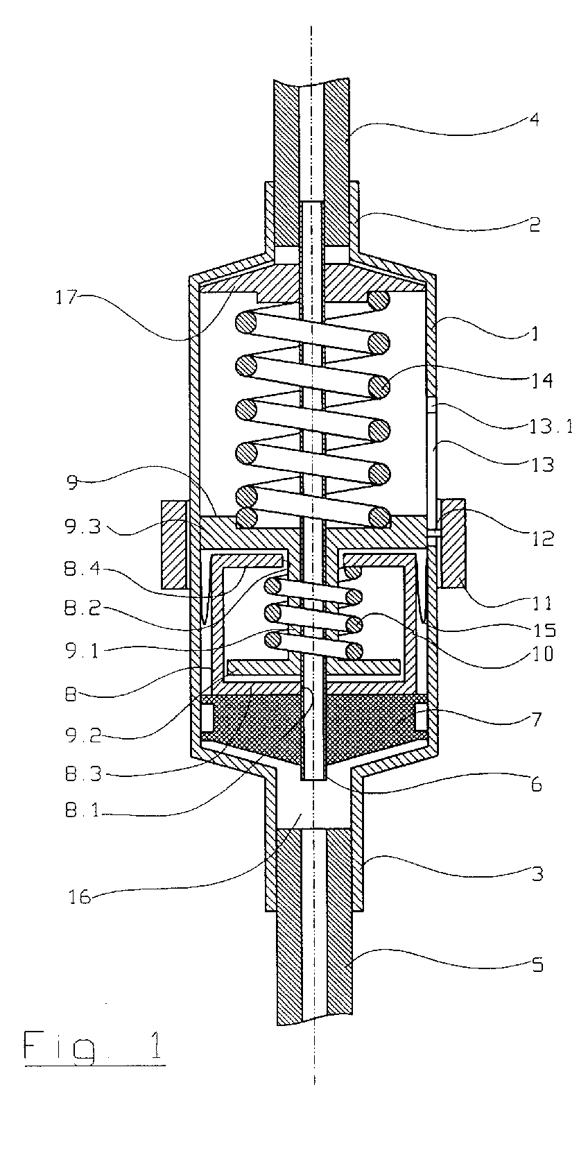
Reservoir for blood sampling
授权日:
1900-01-01
公开(公告)号:
EP1319367A2
申请日:
2002-10-30
公开(公告)日:
2003-06-18
当前申请(专利权)人:
SMITHS MEDICAL DEUTSCHLAND GMBH
发明人:
WEBER, JÖRG | PFANDL, PETER
简单同族:
DE10160703C1 | EP1319367A2 | EP1319367A3 | HRP20020986A2 | JP2003194805A | SI21074A | US20030109806A1
简单同族成员数量:
7
简单同族被引用专利总数:
15
诉讼案件数:
0
法律状态/事件:
撤回