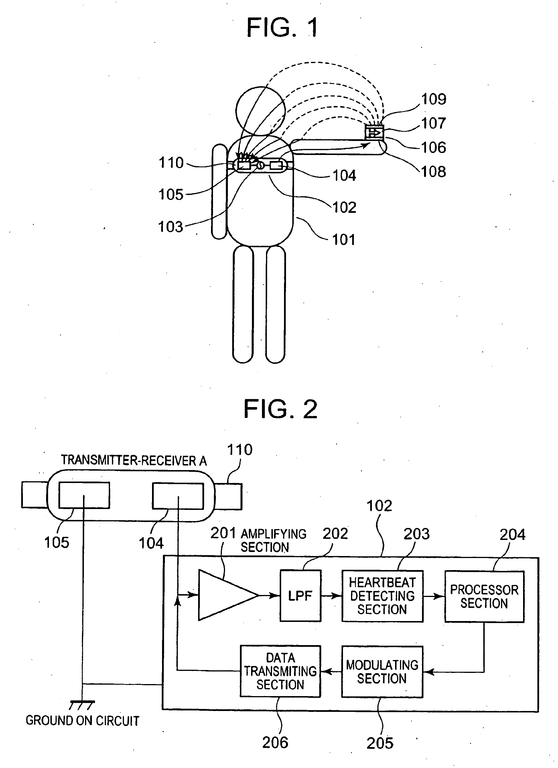
标题:
Information transmission through-human-body system and transmitter/receiver
授权日:
2011-07-06
公开(公告)号:
EP1821432B1
申请日:
2005-12-07
公开(公告)日:
2011-07-06
当前申请(专利权)人:
SEIKO INSTRUMENTS INC.
发明人:
TSUJI, TOMOHARU, SEIKO INSTRUMENTS INC.
简单同族:
CN101073212A | EP1821432A1 | EP1821432A4 | EP1821432B1 | JP4234177B2 | JPWO2006062112A1 | US20080045843A1 | WO2006062112A1
简单同族成员数量:
8
简单同族被引用专利总数:
119
诉讼案件数:
0
法律状态/事件:
权利终止