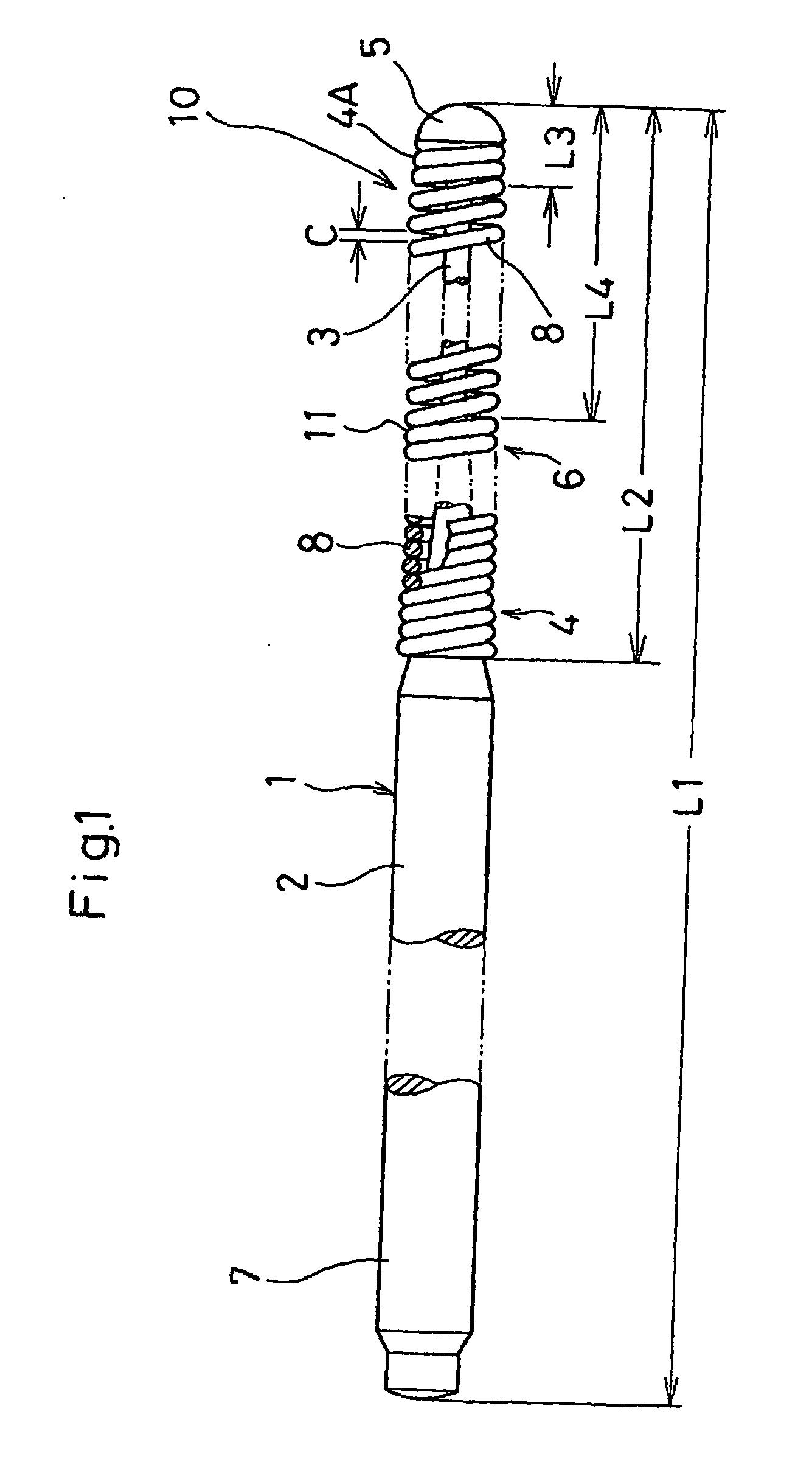
标题:
A medical guide wire
授权日:
2008-01-23
公开(公告)号:
EP1321162B1
申请日:
2002-12-02
公开(公告)日:
2008-01-23
当前申请(专利权)人:
ASAHI INTECC CO., LTD.
发明人:
KATO, TOMIHISA, C/O ASAHI INTECC CO., LTD. | UEMATSU, KENJIRO, C/O ASAHI INTECC CO., LTD.
简单同族:
AT384547T | CN1318106C | CN1422673A | DE60224767D1 | DE60224767T2 | EP1321162A1 | EP1321162B1 | ES2296879T3 | JP2003164530A | JP2003164530A5 | JP3762290B2 | US20030125642A1 | US6884225
简单同族成员数量:
13
简单同族被引用专利总数:
75
诉讼案件数:
0
法律状态/事件:
授权 | 异议