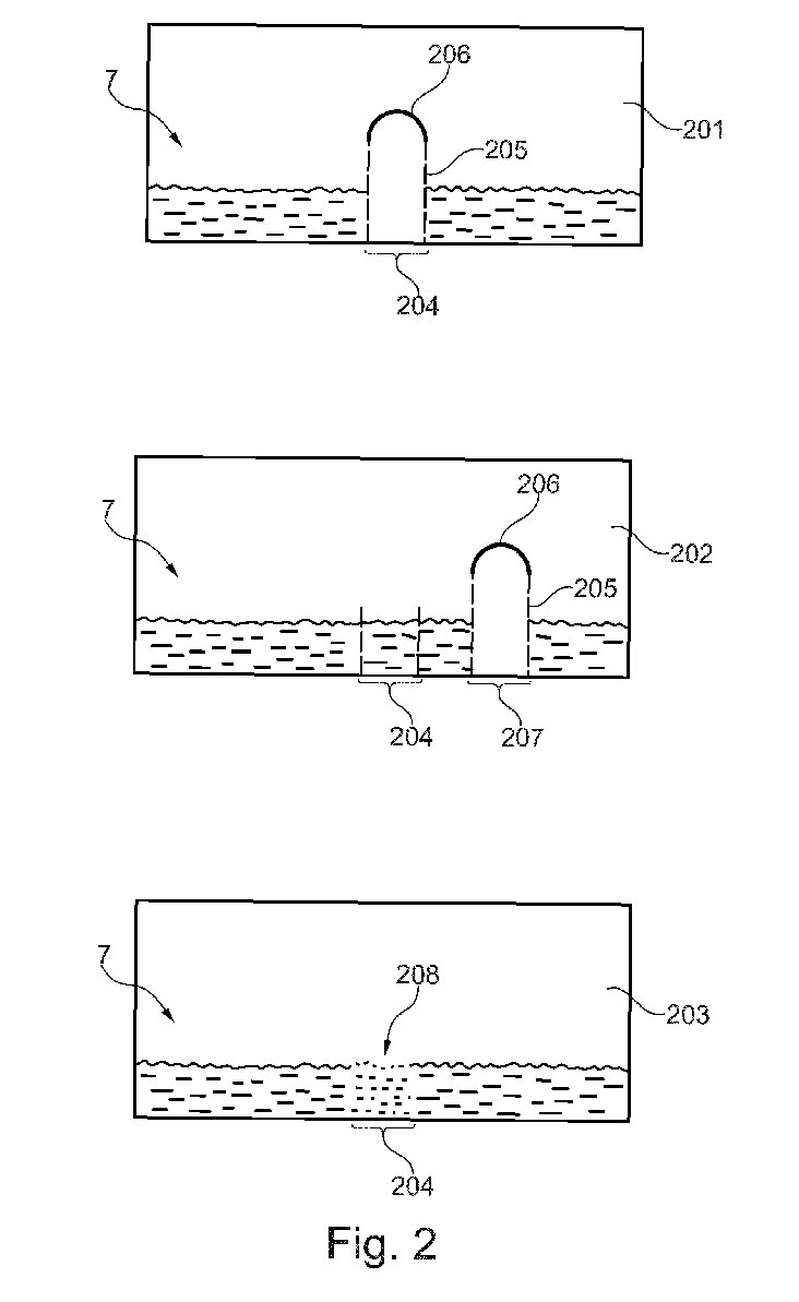
标题:
Method for correcting an oct image, image processing device and combination microscope
授权日:
1900-01-01
公开(公告)号:
EP3005937A1
申请日:
2015-09-25
公开(公告)日:
2016-04-13
当前申请(专利权)人:
CARL ZEISS MEDITEC AG
发明人:
ESLAMI, ABOUZAR | FILIPPATOS, KONSTANTINOS | MAIER-MATIC, CORINNA | KOCHWAGNER, CHRISTINE | SCHUHRKE, THOMAS | MECKES, GÜNTER | DUCA, STEFAN | SCHIELE (GEB. VAAS), CAROLIN | HARTWIG, FALK
简单同族:
DE102014113901A1 | DE202015009623U1 | EP3005937A1 | EP3005937B1 | EP3121556A1 | EP3121556B1 | US10182714 | US20160089015A1
简单同族成员数量:
8
简单同族被引用专利总数:
4
诉讼案件数:
0
法律状态/事件:
授权