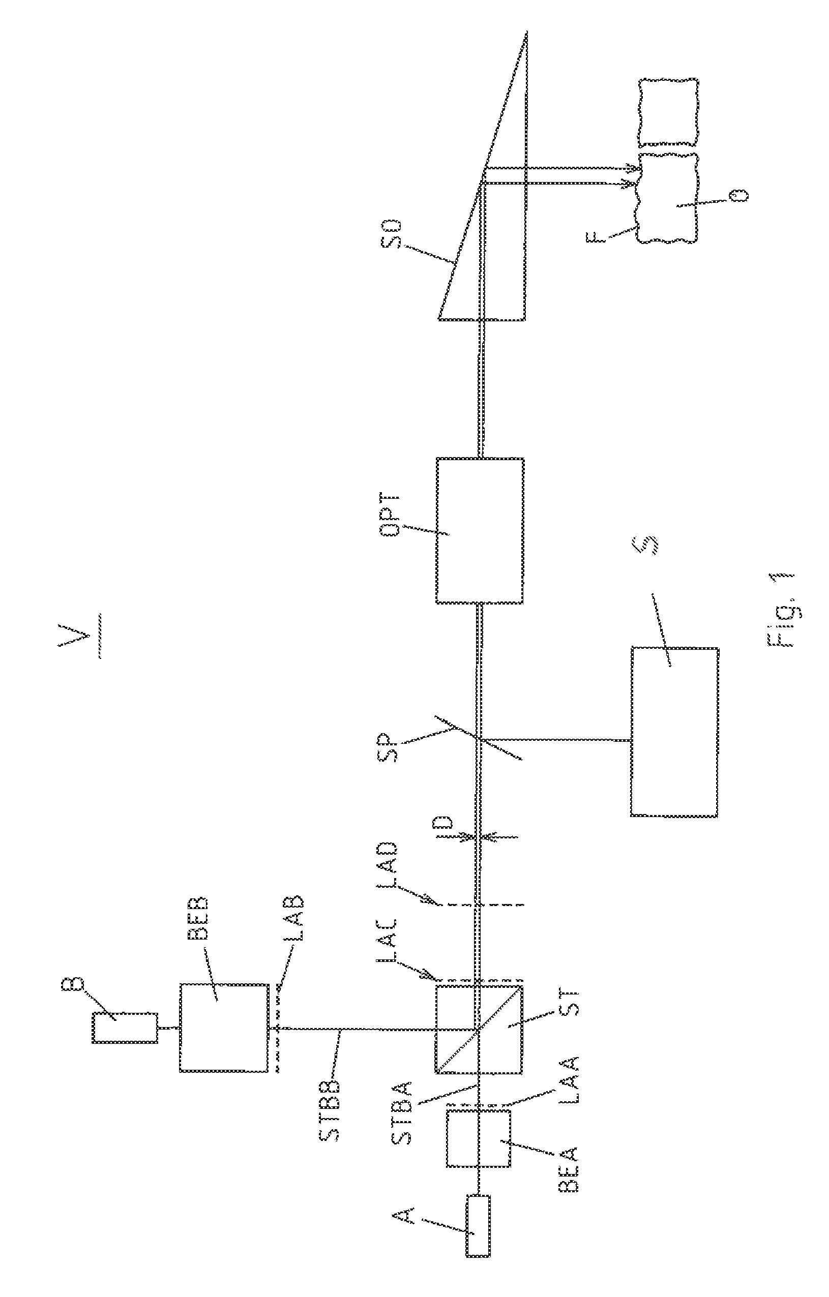
标题:
Method and apparatus for detecting contour data and/or optical characteristics of a three-dimensional semitransparent object
授权日:
2015-04-15
公开(公告)号:
EP2326915B1
申请日:
2009-09-11
公开(公告)日:
2015-04-15
当前申请(专利权)人:
DEGUDENT GMBH
发明人:
ERTL, THOMAS
简单同族:
DE102008044522A1 | EP2326915A1 | EP2326915B1 | US20110194121A1 | US8446595 | WO2010029163A1
简单同族成员数量:
6
简单同族被引用专利总数:
14
诉讼案件数:
0
法律状态/事件:
授权