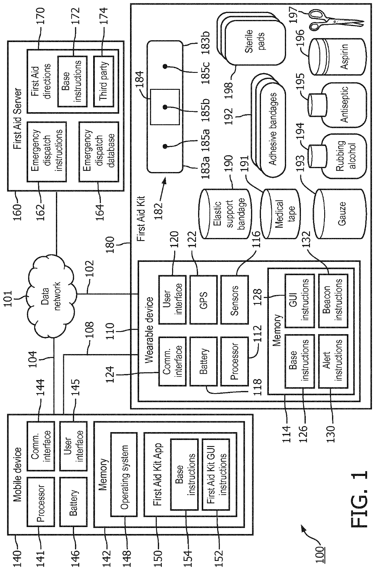
标题:
First aid kit wearable
授权日:
2020-04-08
公开(公告)号:
EP3238193B1
申请日:
2015-12-21
公开(公告)日:
2020-04-08
当前申请(专利权)人:
KONINKLIJKE PHILIPS N.V.
发明人:
CRONIN, JOHN | BODKIN, JOSEPH GEORGE
简单同族:
BR112017013076A2 | CN107111925A | CN107111925B | EP3238193A1 | EP3238193B1 | JP2018501876A | JP6629860B2 | RU2017126237A | RU2017126237A3 | RU2714102C2 | US20170340221A1 | WO2016102439A1
简单同族成员数量:
12
简单同族被引用专利总数:
8
诉讼案件数:
0
法律状态/事件:
授权 | 权利转移