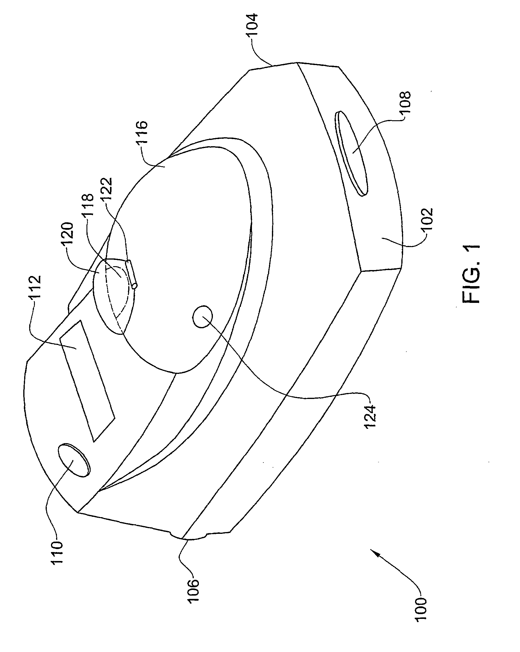
标题:
Device for sampling blood droplets under vacuum conditions
授权日:
2005-06-22
公开(公告)号:
EP1450686B1
申请日:
2002-07-23
公开(公告)日:
2005-06-22
当前申请(专利权)人:
SHL TELEMEDICINE INTERNATIONAL LTD.
发明人:
ALROY, YORAM
简单同族:
AT298223T | AU2002321790A1 | DE60204799D1 | DE60204799T2 | EP1450686A1 | EP1450686B1 | IL146776A | IL146776D0 | JP2005523047A | US20050033196A1 | US20080199949A1 | US20110077553A1 | US7374545 | WO2003045241A1
简单同族成员数量:
14
简单同族被引用专利总数:
116
诉讼案件数:
0
法律状态/事件:
权利终止