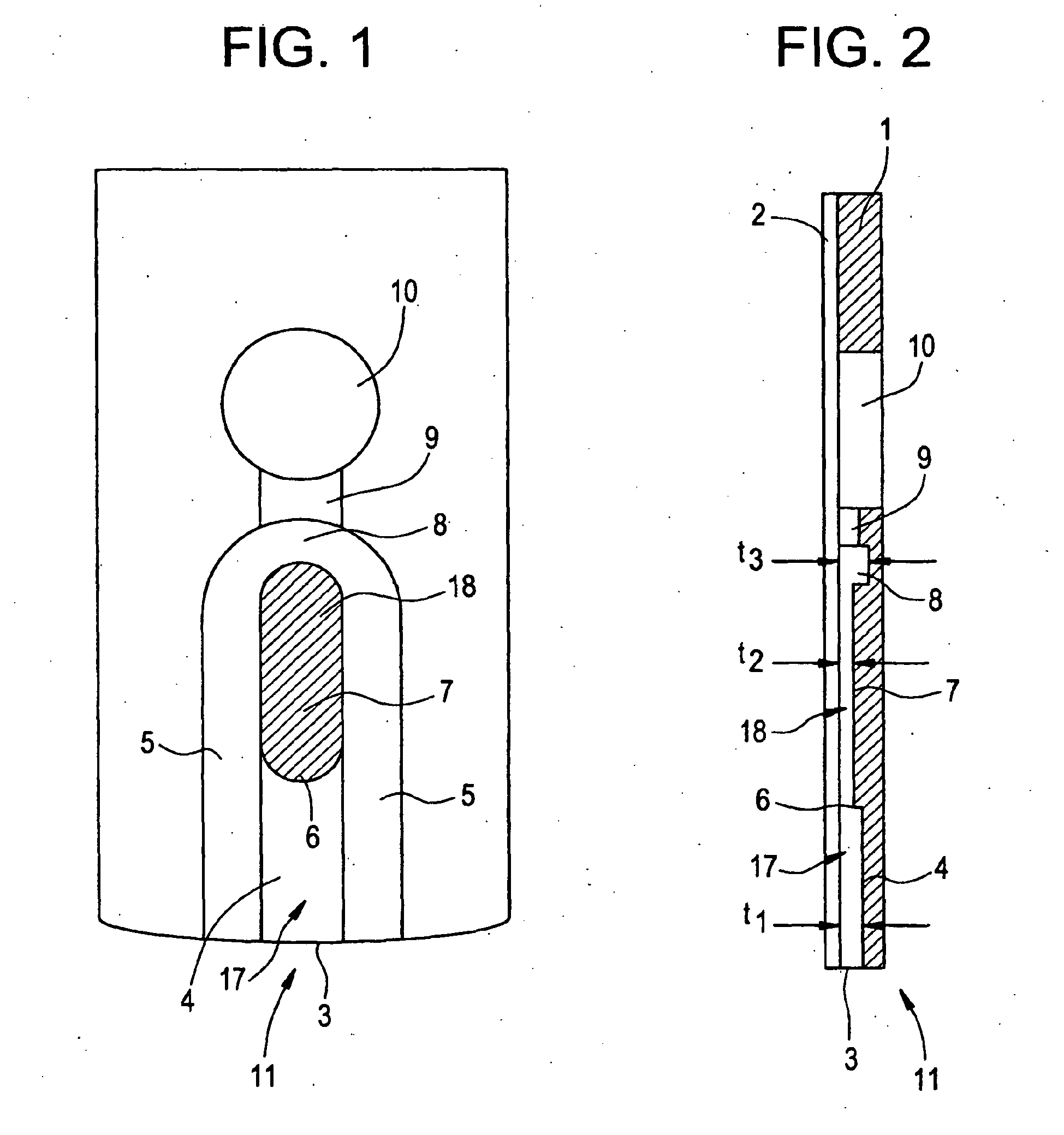
标题:
Fluid Collecting and Monitoring Device
授权日:
2011-10-05
公开(公告)号:
EP1389443B1
申请日:
2003-08-11
公开(公告)日:
2011-10-05
当前申请(专利权)人:
BAYER HEALTHCARE LLC
发明人:
POLLOCK, NEIL | VAN RENSBURG, RICHARD WILHELM JANSE
简单同族:
AT526877T | AU2003231632A1 | AU2003231632B2 | AU2003231632B8 | CA2437441A1 | CA2437441C | EP1389443A1 | EP1389443B1 | JP2004132962A | US20040028558A1 | US7604775
简单同族成员数量:
11
简单同族被引用专利总数:
72
诉讼案件数:
0
法律状态/事件:
授权 | 权利转移