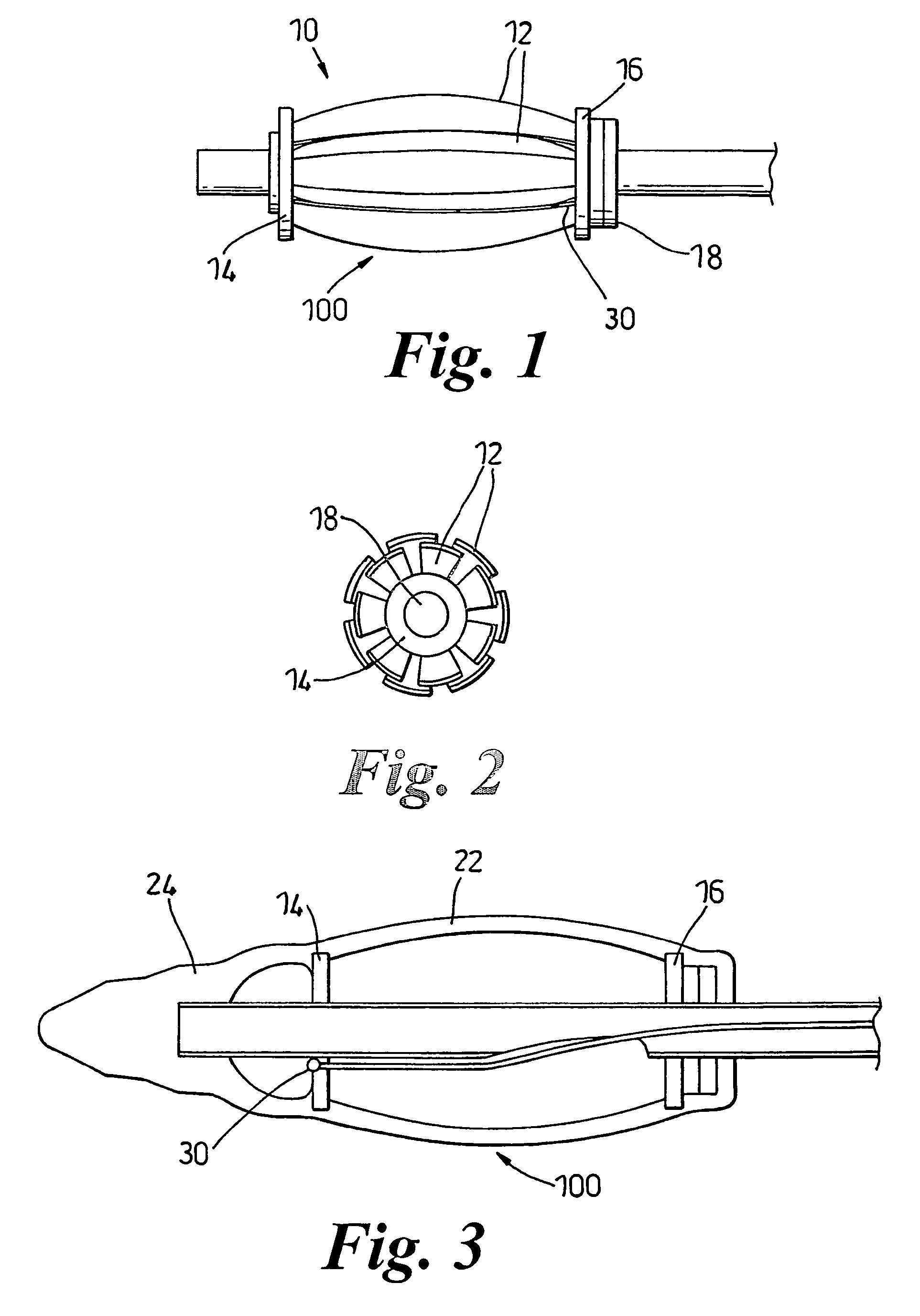
标题:
Dilation device
授权日:
2009-07-15
公开(公告)号:
EP1601284B1
申请日:
2004-02-27
公开(公告)日:
2009-07-15
当前申请(专利权)人:
SMART SURGICAL APPLIANCES LTD
发明人:
DARZI, ARA, C/O IMPERIAL COLLEGE INNOVATIONS LTD | EDWARDS, L., C/O IMPERIAL COLLEGE INNOVATIONS LTD
简单同族:
AU2004216456A1 | AU2004216456B2 | CA2517347A1 | DE602004022022D1 | EP1601284A1 | EP1601284B1 | ES2344006T3 | GB0304439D0 | US20060047298A1 | WO2004075743A1
简单同族成员数量:
10
简单同族被引用专利总数:
17
诉讼案件数:
0
法律状态/事件:
权利终止 | 权利转移