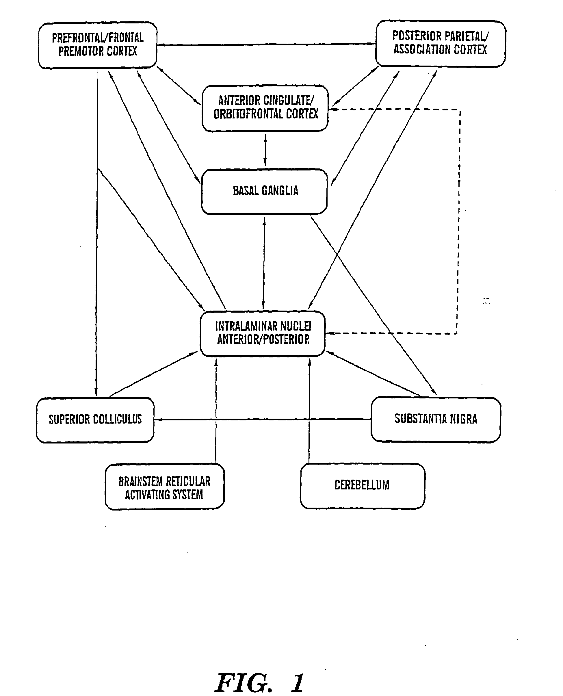
标题:
Feedback mechanism for deep brain stimulation
授权日:
2012-03-28
公开(公告)号:
EP1559369B1
申请日:
2000-06-09
公开(公告)日:
2012-03-28
当前申请(专利权)人:
CORNELL RESEARCH FOUNDATION, INC.
发明人:
SCHIFF, NICHOLAS D. | PURPURA, KEITH | KALIK, STEVEN
简单同族:
AT303176T | AT550988T | AU2000054750A1 | CA2376533A1 | DE60022352D1 | DE60022352T2 | EP1191972A1 | EP1191972B1 | EP1559369A1 | EP1559369B1 | WO2000076580A1
简单同族成员数量:
11
简单同族被引用专利总数:
71
诉讼案件数:
0
法律状态/事件:
期限届满