首页
专利数据库
产业人才
行业动态
产业政策法规
维权援助
个人中心
登录/注册
详情
文本
图像
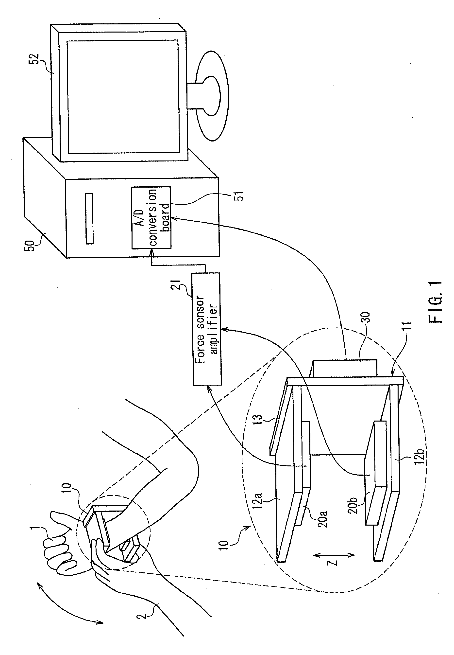
标题:
Muscle tone measuring apparatus
授权日:
2016-09-14
公开(公告)号:
EP2572639B1
申请日:
2011-05-09
公开(公告)日:
2016-09-14
当前申请(专利权)人:
OSAKA UNIVERSITY
发明人:
SAKODA SABURO | HAMASAKI TOSHIMITSU | ENDO TAKUYUKI
简单同族:
EP2572639A1 | EP2572639A4 | EP2572639B1 | JP5339260B2 | JPWO2011145465A1 | US20130053731A1 | US8968219 | WO2011145465A1
简单同族成员数量:
8
简单同族被引用专利总数:
12
诉讼案件数:
0
法律状态/事件:
授权