标题:
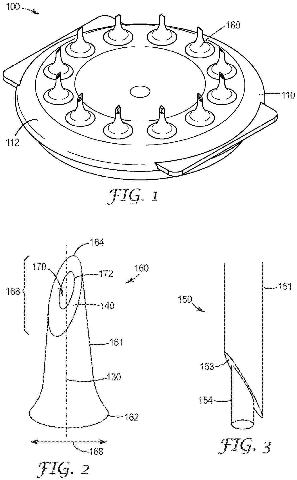
Hollow microneedle with bevel opening
授权日:
2020-02-26
公开(公告)号:
EP3021929B1
申请日:
2014-07-10
公开(公告)日:
2020-02-26
当前申请(专利权)人:
3M INNOVATIVE PROPERTIES COMPANY
发明人:
SIMMERS, RYAN PATRICK
简单同族:
CN105407956A | CN105407956B | EP3021929A1 | EP3021929B1 | JP2016524986A | JP2016524986A5 | JP2019034188A | JP2020032211A | JP6430501B2 | JP6612952B2 | SG11201600331YA | US10384047 | US20160166819A1 | WO2015009523A1
简单同族成员数量:
14
简单同族被引用专利总数:
7
诉讼案件数:
0
法律状态/事件:
授权