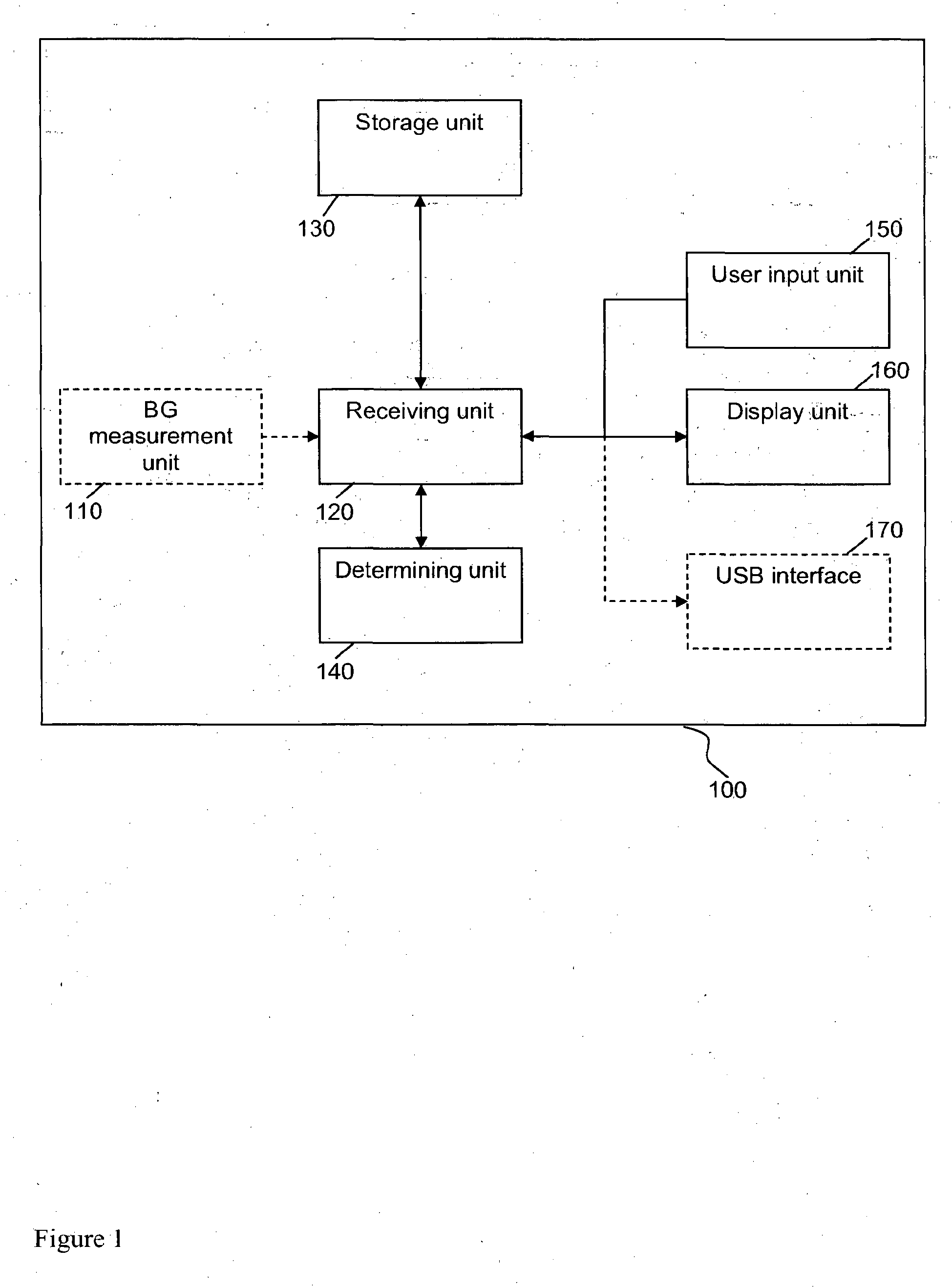
标题:
Medical system and method for providing information for glycemic control
授权日:
2015-11-25
公开(公告)号:
EP2393415B1
申请日:
2010-02-03
公开(公告)日:
2015-11-25
当前申请(专利权)人:
SANOFI-AVENTIS DEUTSCHLAND GMBH
发明人:
TUBB, ANDREW
简单同族:
AU2010210157A1 | AU2010210157B2 | CA2749865A1 | CA2749865C | CN102369032A | CN102369032B | CN105268051A | CN105268051B | DK2393415T3 | EP2393415A1 | EP2393415B1 | HK1164083A | HK1164083A1 | IL214314A | IL214314D0 | JP2012516735A | JP5677322B2 | US10478100 | US20120109687A1 | WO2010089307A1
简单同族成员数量:
20
简单同族被引用专利总数:
81
诉讼案件数:
0
法律状态/事件:
授权 | 异议