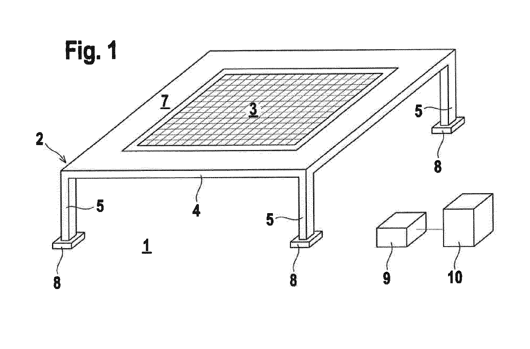
标题:
Trampoline
授权日:
1900-01-01
公开(公告)号:
EP2962736A1
申请日:
2014-07-04
公开(公告)日:
2016-01-06
当前申请(专利权)人:
EUROTRAMP TRAMPOLINE - KURT HACK GMBH
发明人:
CONRAD, BASTIAN | MAIER, JOHANNES | FERGER DR., KATJA | OTTENBERG, MATTHIAS | TIEFENBACHER, KONRAD
简单同族:
DK2962736T3 | EP2962736A1 | EP2962736B1 | ES2639784T3 | JP2017520338A | JP2017520338A5 | JP6275321B2 | PT2962736T | US10039947 | US20170157444A1 | WO2016000928A1
简单同族成员数量:
11
简单同族被引用专利总数:
5
诉讼案件数:
0
法律状态/事件:
授权