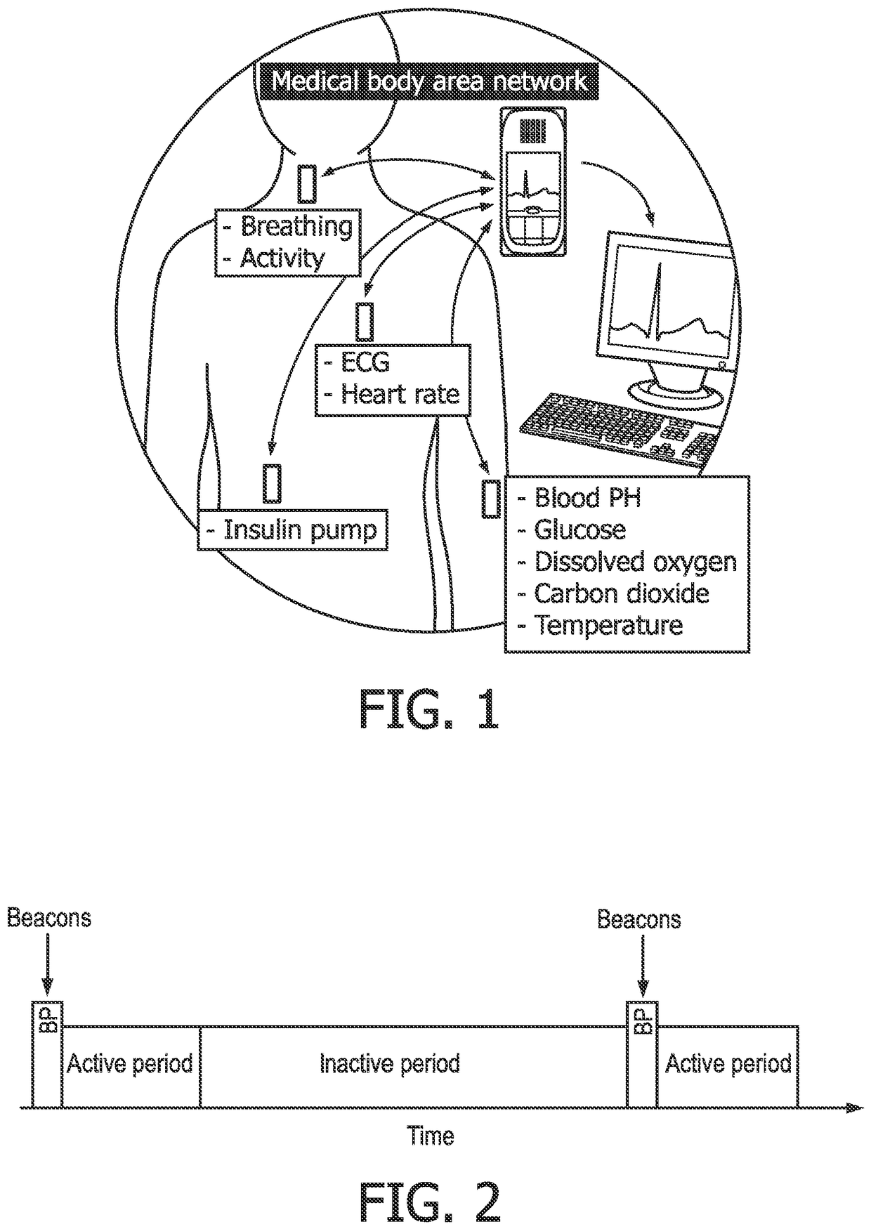
标题:
Multi-channel communication scheme for medical body area network (MBAN) to meet duty cycle regulation
授权日:
2018-05-16
公开(公告)号:
EP3123770B1
申请日:
2015-03-09
公开(公告)日:
2018-05-16
当前申请(专利权)人:
KONINKLIJKE PHILIPS N.V.
发明人:
WANG, DONG
简单同族:
CN106134246A | CN106134246B | EP3123770A1 | EP3123770B1 | JP2017514364A | JP2017514364A5 | JP6328266B2 | RU2016141847A | RU2016141847A3 | RU2661292C2 | US10264488 | US20170111824A1 | US20180227800A1 | US9961589 | WO2015145283A1
简单同族成员数量:
15
简单同族被引用专利总数:
9
诉讼案件数:
0
法律状态/事件:
授权