标题:
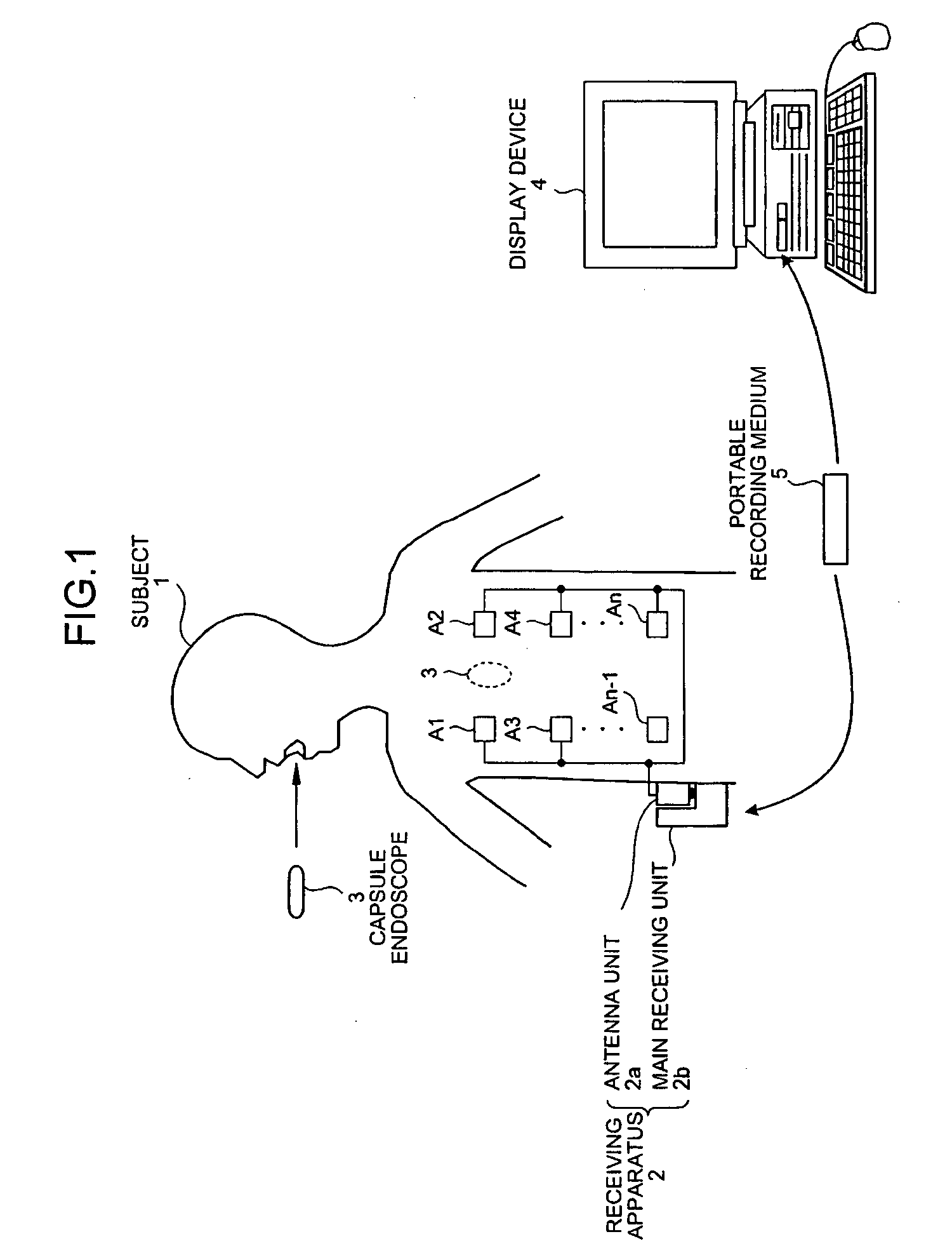
Receiver apparatus
授权日:
2013-02-27
公开(公告)号:
EP1974651B1
申请日:
2006-08-18
公开(公告)日:
2013-02-27
当前申请(专利权)人:
OLYMPUS CORPORATION
发明人:
KIMOTO, SEIICHIRO C/O OLYMPUS MEDICAL SYSTEMS CORP. | SHIGEMORI, TOSHIAKI C/O OLYMPUS MEDICAL SYSTEMS CORP. | FUJITA, MANABU C/O OLYMPUS MEDICAL SYSTEMS CORP. | MATSUI, AKIRA C/O OLYMPUS MEDICAL SYSTEMS CORP. | NAKATSUCHI, KAZUTAKA C/O OLYMPUS MEDICAL SYSTEMS CORP. | NAGASE, AYAKO C/O OLYMPUS MEDICAL SYSTEMS CORP.
简单同族:
AU2006280695A1 | AU2006280695B2 | CN101242778A | CN101242778B | EP1974651A1 | EP1974651A4 | EP1974651B1 | JP2007050163A | JP2007050163A5 | JP4398414B2 | US20090002177A1 | US7570171 | WO2007021009A1
简单同族成员数量:
13
简单同族被引用专利总数:
9
诉讼案件数:
0
法律状态/事件:
授权