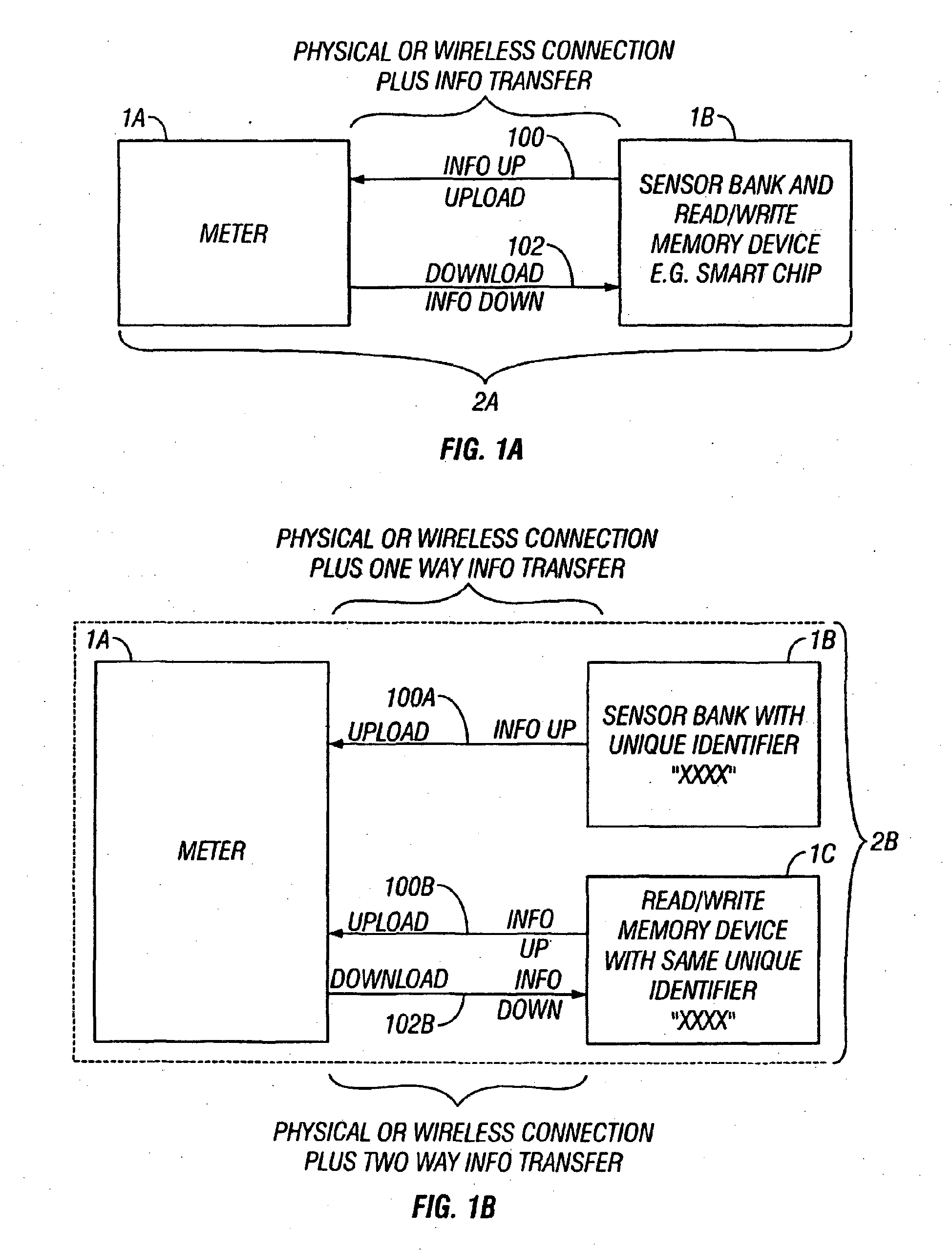
标题:
Meter and test sensor bank incorporating re-writable memory
授权日:
2014-06-11
公开(公告)号:
EP1678496B1
申请日:
2004-10-12
公开(公告)日:
2014-06-11
当前申请(专利权)人:
INVERNESS MEDICAL LIMITED
发明人:
GRIFFITH, ALUN | COULSON, ALAN | TAYLOR, DAVID | HAYTER, PAUL, GRAHAM
简单同族:
AU2004283363A1 | CA2542597A1 | CA2542597C | EP1678496A1 | EP1678496B1 | EP2264452A1 | HK1092530A | HK1151851A | JP2007509645A | WO2005040793A1
简单同族成员数量:
10
简单同族被引用专利总数:
84
诉讼案件数:
0
法律状态/事件:
授权