首页
专利数据库
产业人才
行业动态
产业政策法规
维权援助
个人中心
登录/注册
详情
文本
图像
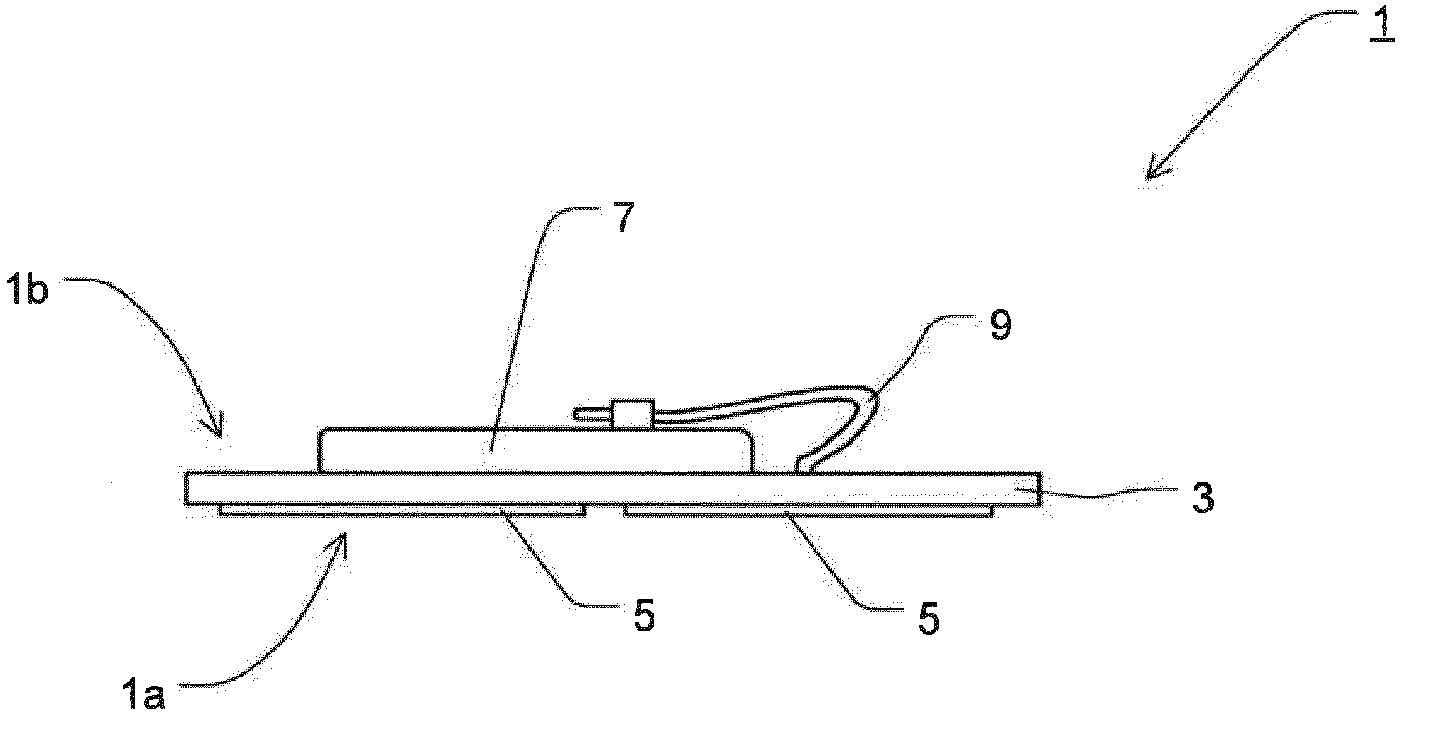
标题:
Skin patch, assistance system, set
授权日:
1900-01-01
公开(公告)号:
EP3388038A1
申请日:
2018-04-10
公开(公告)日:
2018-10-17
当前申请(专利权)人:
EVANGELISCH-LUTHERISCHES DIAKONIEWERK NEUENDETTELSAU KDÖR
发明人:
BESSER, JÜRGEN | ZERTH, JÜRGEN
简单同族:
DE102017107864A1 | EP3388038A1
简单同族成员数量:
2
简单同族被引用专利总数:
0
诉讼案件数:
0
法律状态/事件:
公开