首页
专利数据库
产业人才
行业动态
产业政策法规
维权援助
个人中心
登录/注册
详情
文本
图像
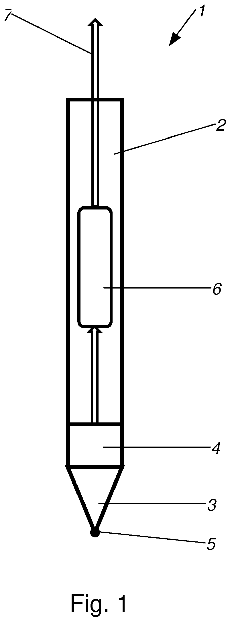
标题:
Device and method for measuring a cutaneous electric resistance
授权日:
2019-12-11
公开(公告)号:
EP3210533B1
申请日:
2017-02-21
公开(公告)日:
2019-12-11
当前申请(专利权)人:
PEUTLER, PETER
发明人:
PEUTLER, PETER
简单同族:
AT518342A1 | AT518342B1 | EP3210533A1 | EP3210533B1
简单同族成员数量:
4
简单同族被引用专利总数:
0
诉讼案件数:
0
法律状态/事件:
授权