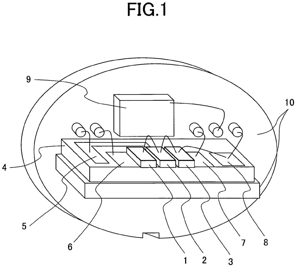
标题:
Light source comprising a plurality of semiconductor lasers mounted in one can and optical measurement instrument comprising such a light source
授权日:
2018-04-11
公开(公告)号:
EP1972924B1
申请日:
2007-11-09
公开(公告)日:
2018-04-11
当前申请(专利权)人:
HITACHI, LTD.
发明人:
NOMOTO, ETSUKO | OHTOSHI, TSUKURU | KIGUCHI, MASASHI
简单同族:
EP1972924A1 | EP1972924B1 | JP2008229239A | JP2008229239A5 | JP5227525B2 | US20080234560A1 | US8369913
简单同族成员数量:
7
简单同族被引用专利总数:
80
诉讼案件数:
0
法律状态/事件:
授权