首页
专利数据库
产业人才
行业动态
产业政策法规
维权援助
个人中心
登录/注册
详情
文本
图像
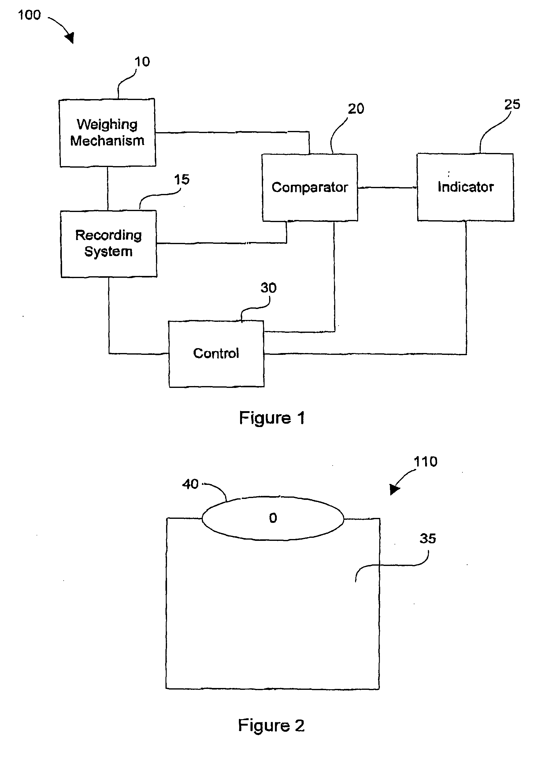
标题:
Weigh scale and method of weighing
授权日:
2013-01-16
公开(公告)号:
EP2183553B1
申请日:
2008-08-13
公开(公告)日:
2013-01-16
当前申请(专利权)人:
TAYLOR, SUSAN | EDGAR, WILLIAM
发明人:
TAYLOR, SUSAN | EDGAR, WILLIAM
简单同族:
CA2696520A1 | EP2183553A1 | EP2183553A4 | EP2183553B1 | US20090044987A1 | US7982140 | WO2009021337A1
简单同族成员数量:
7
简单同族被引用专利总数:
10
诉讼案件数:
0
法律状态/事件:
权利终止