首页
专利数据库
产业人才
行业动态
产业政策法规
维权援助
个人中心
登录/注册
详情
文本
图像
标题:
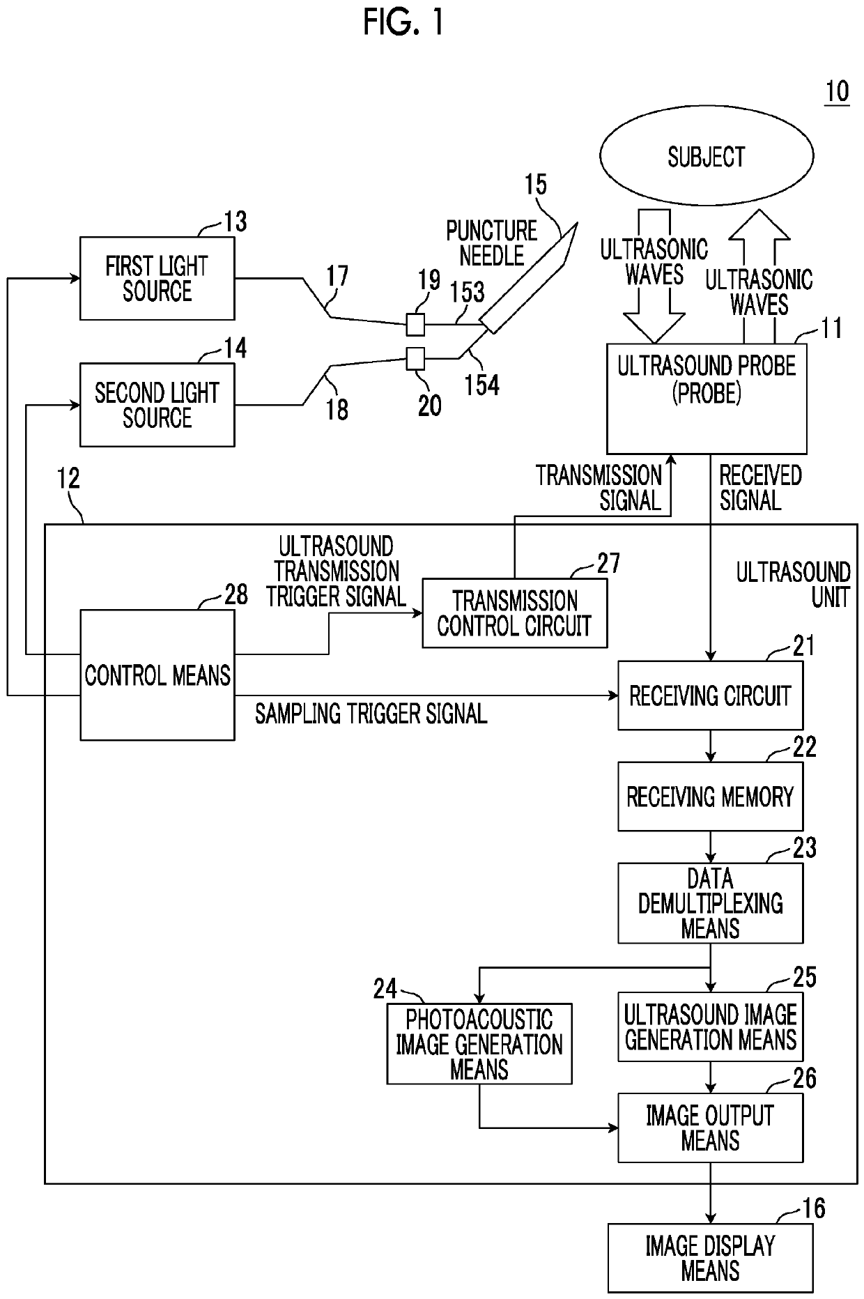
Photoacoustic image generating device and insertion object
授权日:
2020-02-26
公开(公告)号:
EP3345551B1
申请日:
2016-08-22
公开(公告)日:
2020-02-26
当前申请(专利权)人:
FUJIFILM CORPORATION
发明人:
IRISAWA, KAKU | INOUE, TOMOKI
简单同族:
EP3345551A1 | EP3345551A4 | EP3345551B1 | JP6445172B2 | JPWO2017038036A1 | US20180177408A1 | WO2017038036A1
简单同族成员数量:
7
简单同族被引用专利总数:
8
诉讼案件数:
0
法律状态/事件:
授权