标题:
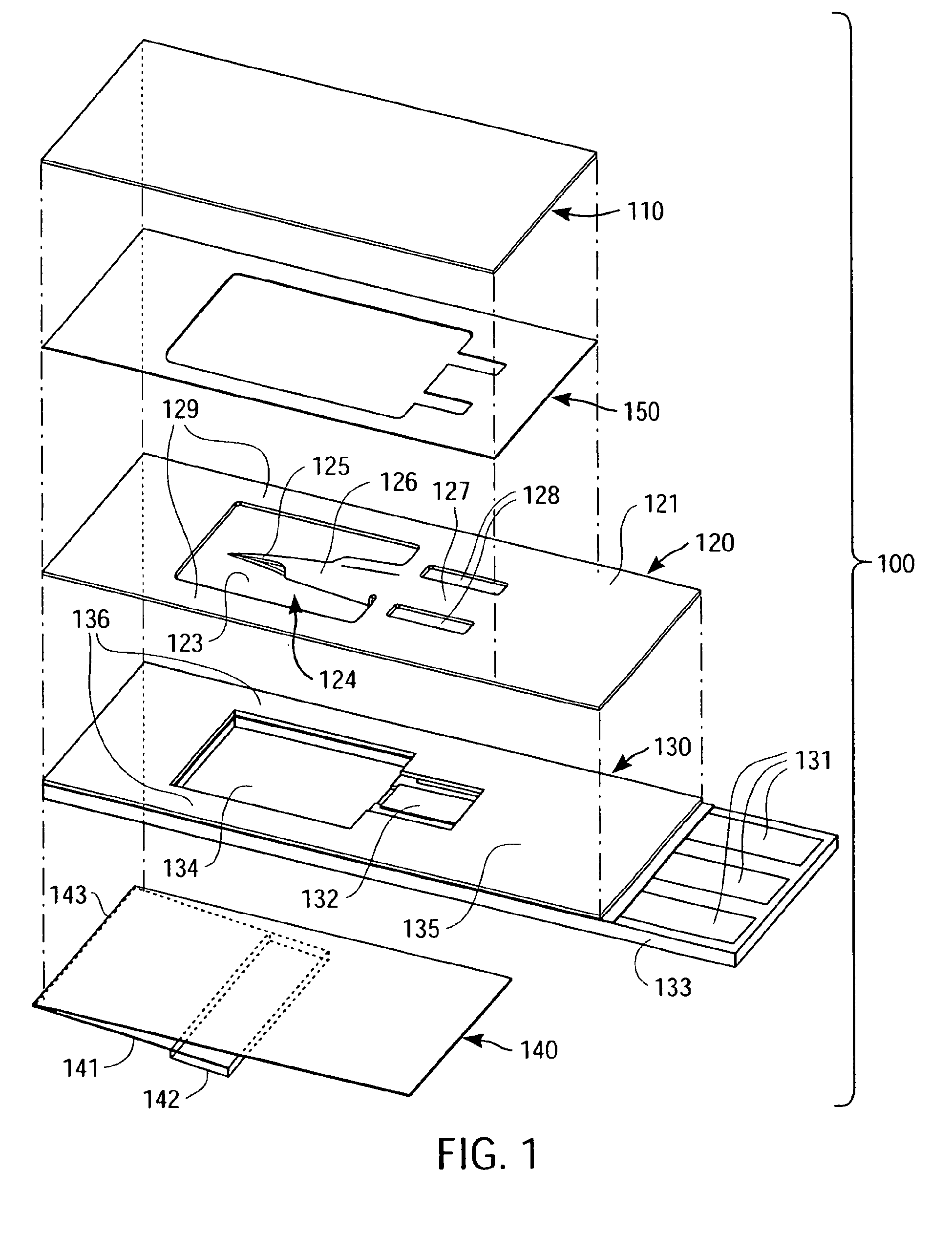
Packaged medical device with a deployable dermal tissue penetration member
授权日:
2006-10-11
公开(公告)号:
EP1508304B1
申请日:
2004-08-13
公开(公告)日:
2006-10-11
当前申请(专利权)人:
LIFESCAN, INC.
发明人:
ERICKSON, BRIAN | ALLEN, JOHN
简单同族:
AT341998T | AU2004203814A1 | AU2004203814B2 | CA2477164A1 | CA2477164C | CN1579339A | CN1579339B | DE602004002738D1 | DE602004002738T2 | EP1508304A1 | EP1508304B1 | HK1071841A | HK1071841A1 | JP2005058769A | JP4615268B2 | KR101043192B1 | KR1020050016242A | MX251604B | MXPA04007850A | NO20043338A | NO20043338L | RU2004124624A | RU2351279C2 | SG109550A1 | TW200522916A | TWI348367B | US20050036909A1 | US7223248
简单同族成员数量:
28
简单同族被引用专利总数:
254
诉讼案件数:
0
法律状态/事件:
授权