标题:
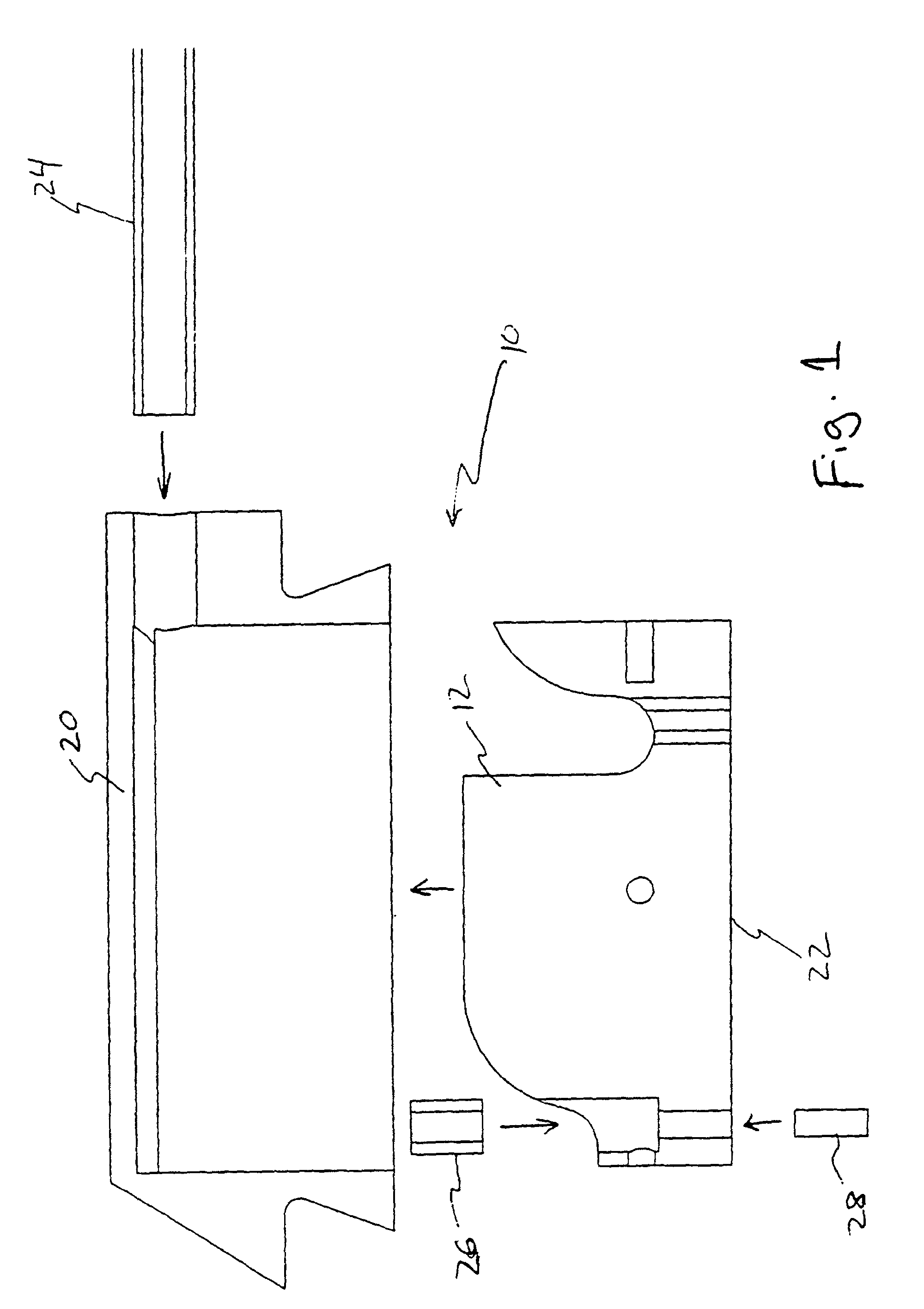
Disposable tissue probe tip
授权日:
2004-10-13
公开(公告)号:
EP1180965B1
申请日:
2000-06-01
公开(公告)日:
2004-10-13
当前申请(专利权)人:
HUTCHINSON TECHNOLOGY, INC.
发明人:
LEWANDOWSKI, MARK, S. | MYERS, DEAN, E. | ORTNER, JOSEPH, P. | QUAST, KENNETH R. | RUPP, DIANE, L. | SCHMIDT, MARK, A.
简单同族:
AU2000054996A1 | DE60014888D1 | DE60014888T2 | EP1180965A1 | EP1180965B1 | JP2003501126A | WO2000074562A1
简单同族成员数量:
7
简单同族被引用专利总数:
11
诉讼案件数:
0
法律状态/事件:
期限届满