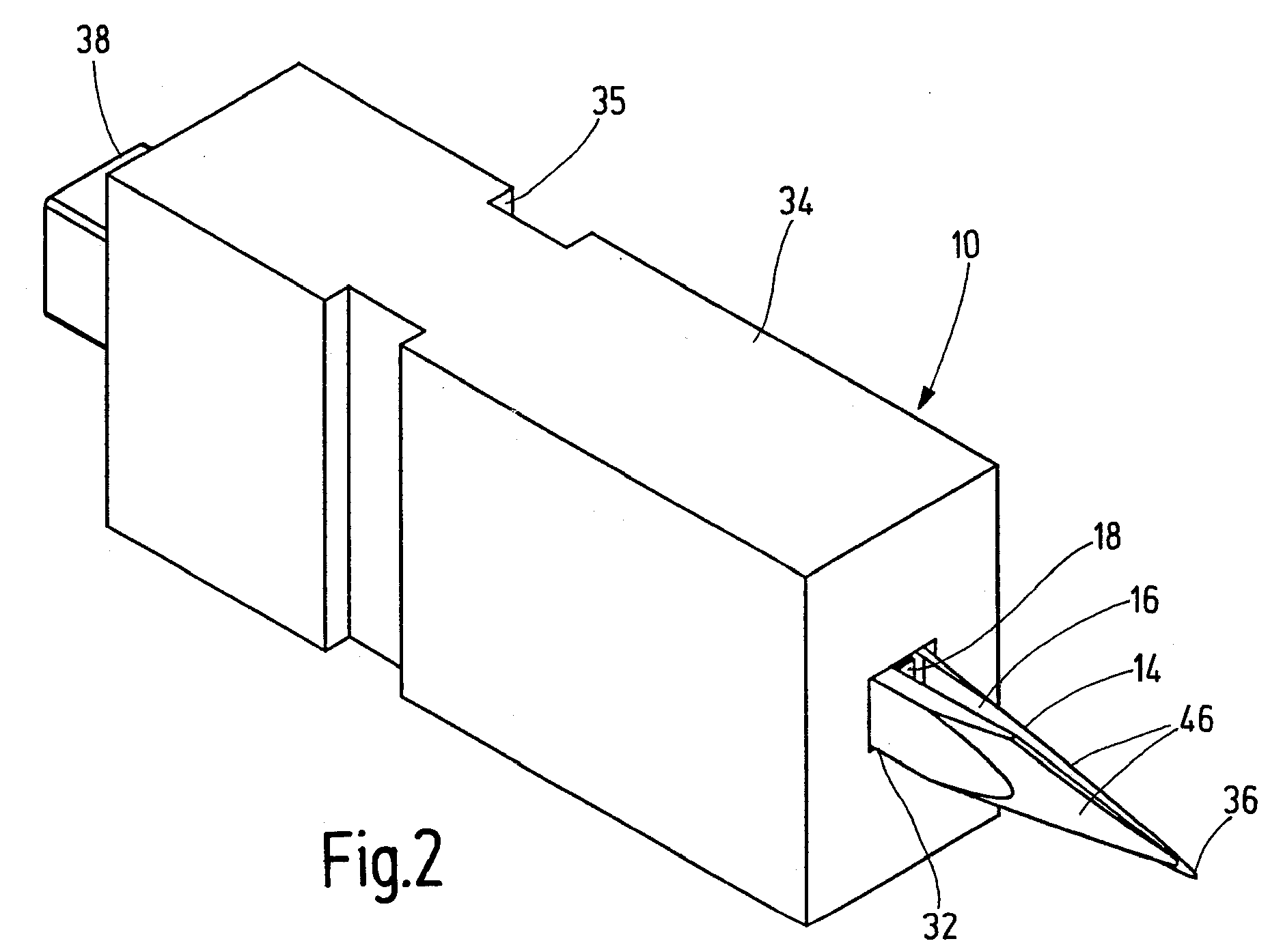
标题:
Disposable diagnostic article
授权日:
1900-01-01
公开(公告)号:
EP1977686A1
申请日:
2007-04-04
公开(公告)日:
2008-10-08
当前申请(专利权)人:
F.HOFFMANN-LA ROCHE AG | ROCHE DIAGNOSTICS GMBH
发明人:
HAAR, HANS-PETER
简单同族:
CN101652095A | CN101652095B | EP1977686A1 | EP2173240A1 | EP2173240B1 | HK1141423A | HK1141423A1 | US20100049091A1 | US8298159 | WO2008122541A1 | WO2008122541A8
简单同族成员数量:
11
简单同族被引用专利总数:
14
诉讼案件数:
0
法律状态/事件:
撤回