首页
专利数据库
产业人才
行业动态
产业政策法规
维权援助
个人中心
登录/注册
详情
文本
图像
标题:
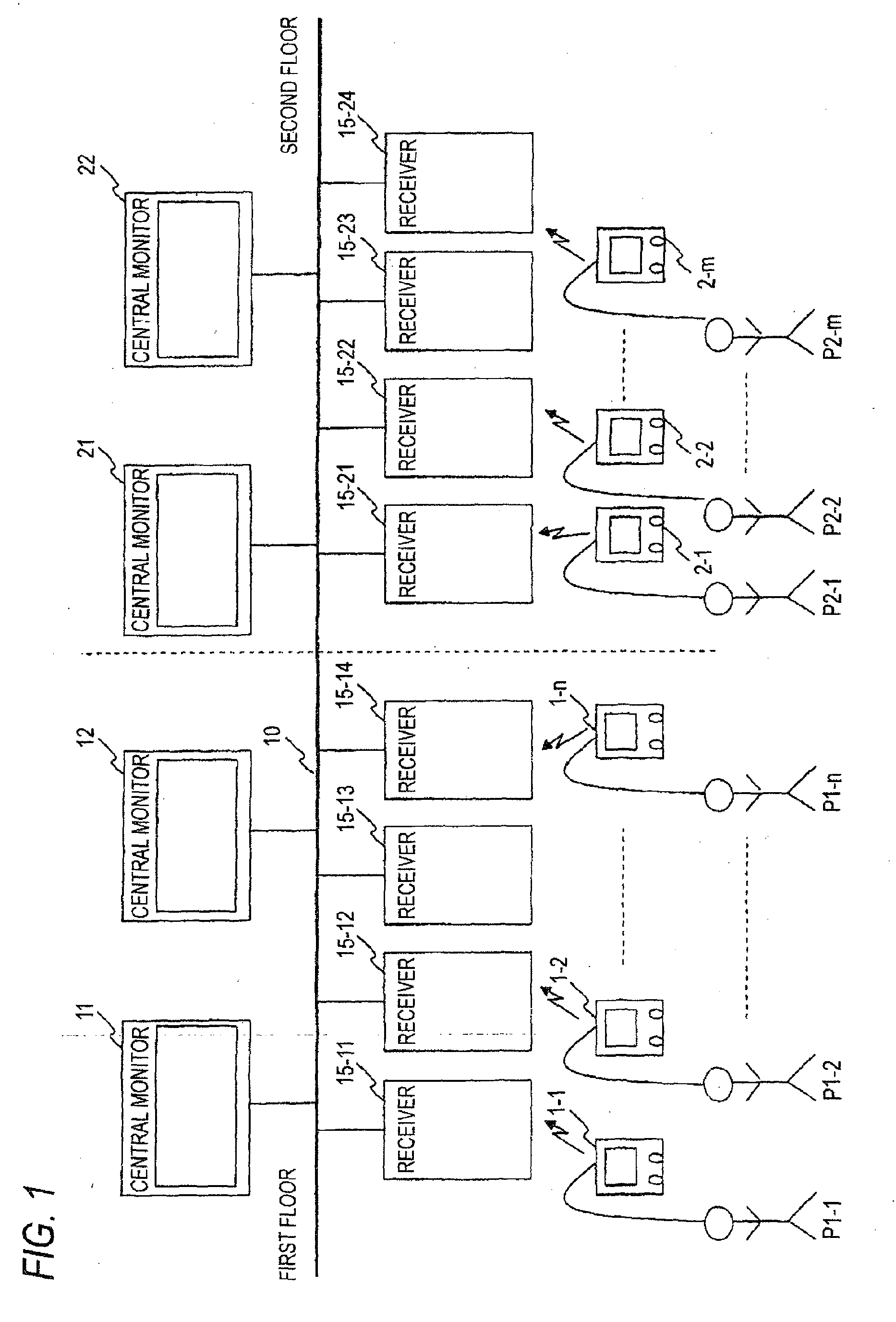
Biological information monitoring system
授权日:
2015-01-14
公开(公告)号:
EP2540217B1
申请日:
2012-06-25
公开(公告)日:
2015-01-14
当前申请(专利权)人:
NIHON KOHDEN CORPORATION
发明人:
ENOMOTO, YOSHINORI
简单同族:
CN102857550A | EP2540217A1 | EP2540217B1 | JP2013012132A | JP2013012132A5 | JP5608135B2 | US20130002431A1 | US8710992
简单同族成员数量:
8
简单同族被引用专利总数:
5
诉讼案件数:
0
法律状态/事件:
授权