首页
专利数据库
产业人才
行业动态
产业政策法规
维权援助
个人中心
登录/注册
详情
文本
图像
标题:
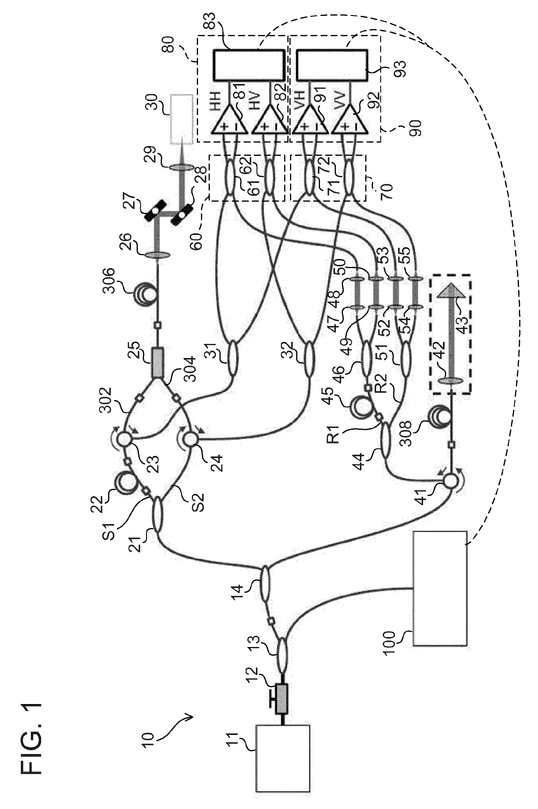
Optical tomographic device
授权日:
2016-11-30
公开(公告)号:
EP2995245B1
申请日:
2015-09-09
公开(公告)日:
2016-11-30
当前申请(专利权)人:
TOMEY CORPORATION
发明人:
YAMANARI, MASAHIRO
简单同族:
EP2995245A1 | EP2995245B1 | JP2016057197A | JP6463051B2 | US20160069664A1 | US9593936
简单同族成员数量:
6
简单同族被引用专利总数:
6
诉讼案件数:
0
法律状态/事件:
授权