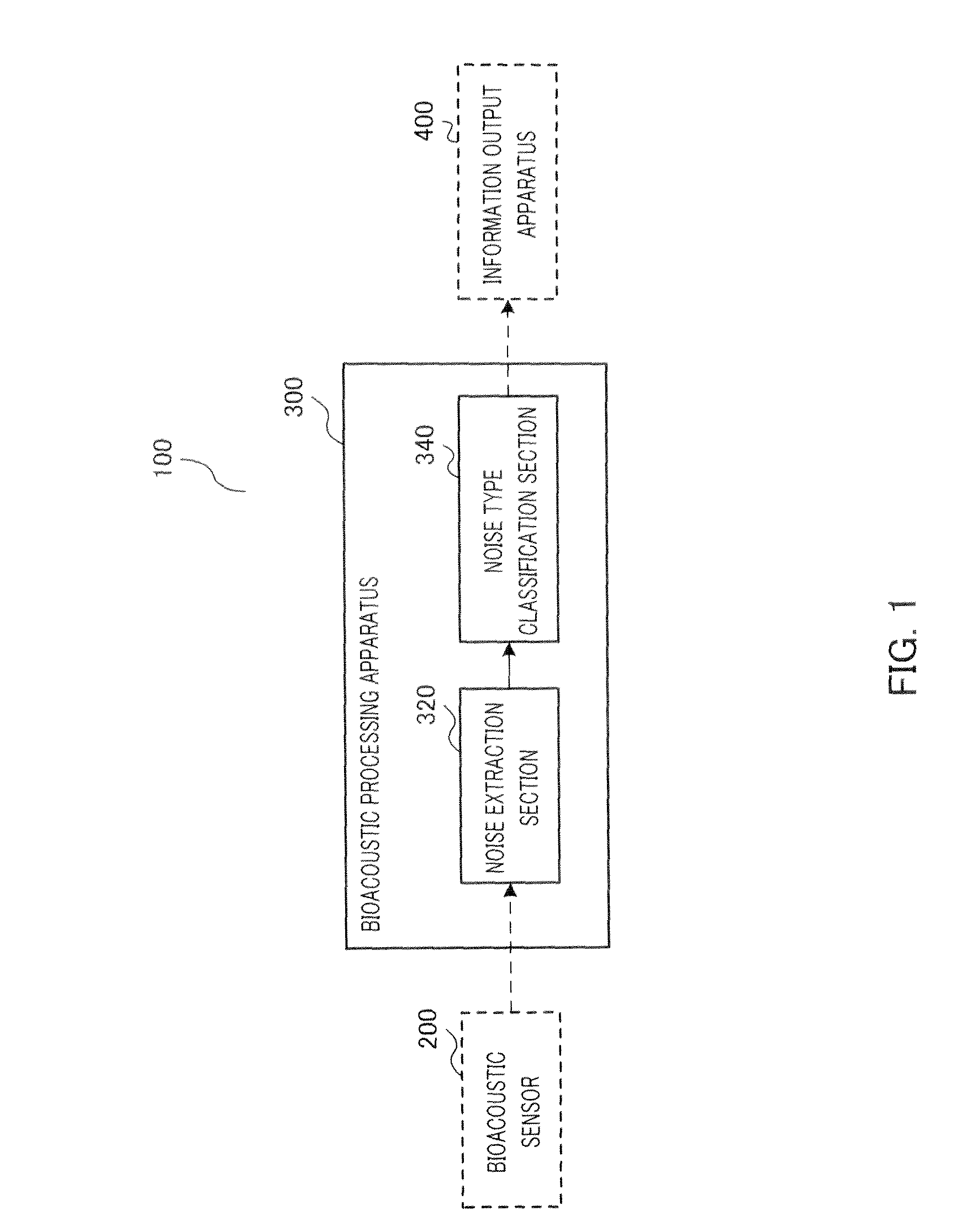
标题:
Bioacoustic processing apparatus and bioacoustic processing method
授权日:
2015-05-06
公开(公告)号:
EP2689728B1
申请日:
2012-03-09
公开(公告)日:
2015-05-06
当前申请(专利权)人:
PANASONIC CORPORATION
发明人:
ENDO, MITSURU | HORII, NORIAKI | YAMADA, MAKI
简单同族:
CN103052355A | CN103052355B | EP2689728A1 | EP2689728A4 | EP2689728B1 | US20130158435A1 | US9017269 | WO2012132265A1
简单同族成员数量:
8
简单同族被引用专利总数:
4
诉讼案件数:
0
法律状态/事件:
授权