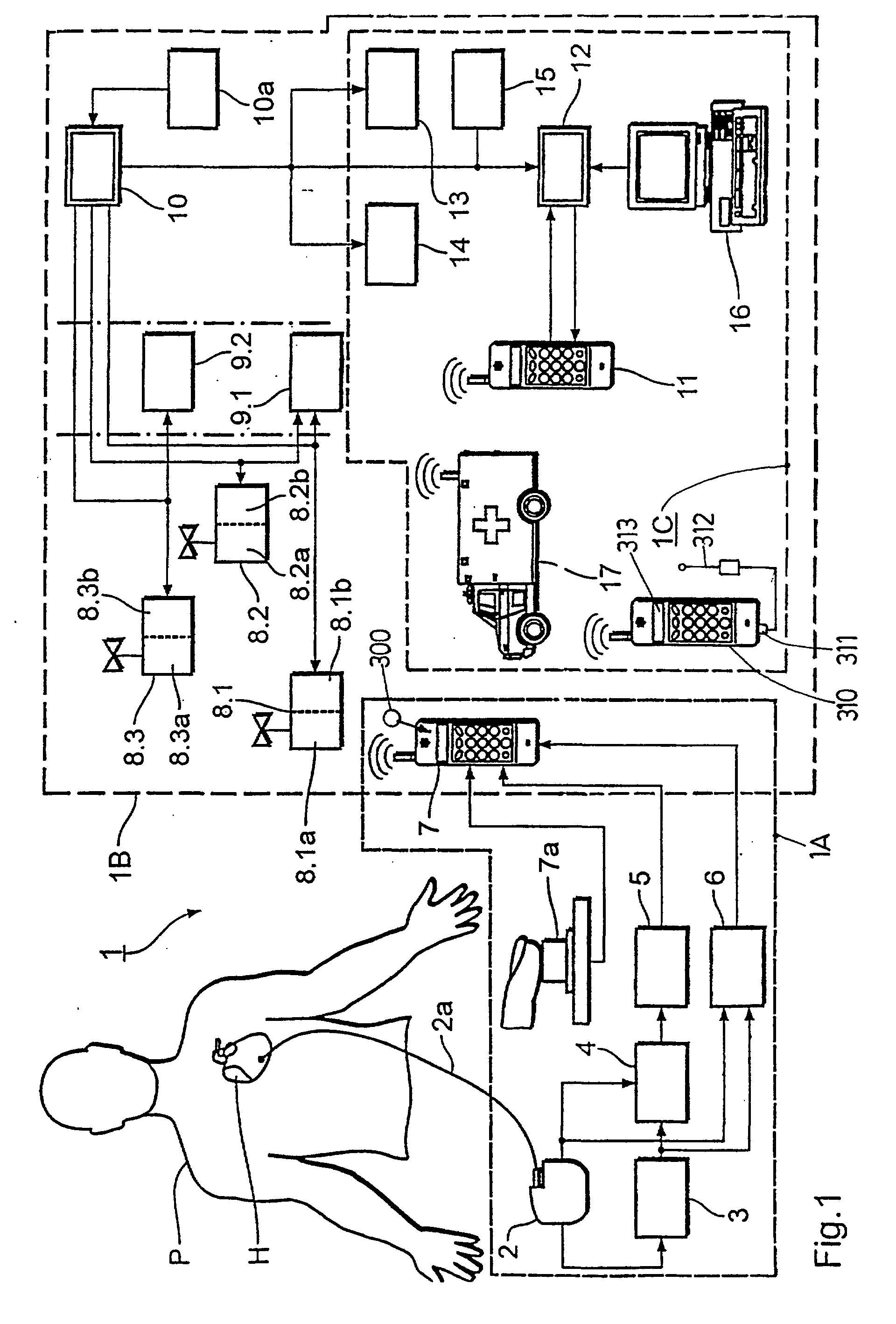
标题:
System for patient surveillance and location
授权日:
2004-06-23
公开(公告)号:
EP1127535B1
申请日:
2001-02-08
公开(公告)日:
2004-06-23
当前申请(专利权)人:
BIOTRONIK MESS- UND THERAPIEGERÄTE GMBH & CO INGENIEURBÜRO BERLIN
发明人:
BEETZ, KLEMENS | KRAUS, MICHAEL, DR. | LANG, BERNHARD | LANG, MARTIN, DR. | NAGELSCHMIDT, AXEL | NEUDECKER, JOHANNES, DR. | POTSCHADTKE, JENS
简单同族:
DE10008917A1 | DE50102649D1 | EP1127535A2 | EP1127535A3 | EP1127535B1 | EP1127535B8 | US20010029321A1 | US6544171
简单同族成员数量:
8
简单同族被引用专利总数:
162
诉讼案件数:
0
法律状态/事件:
授权