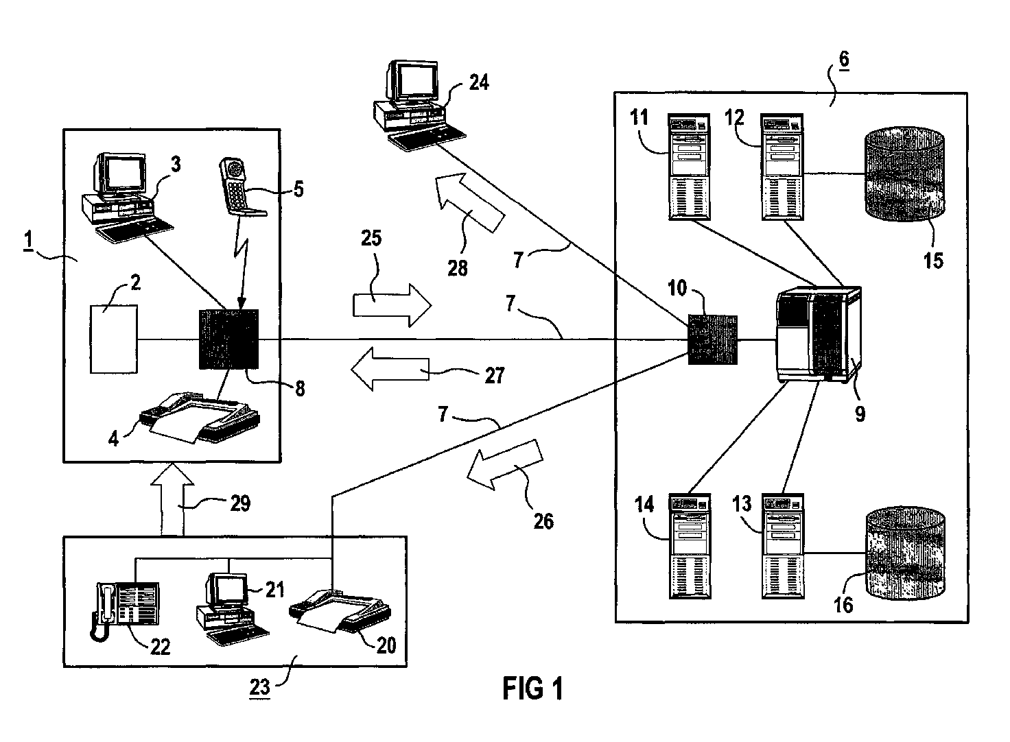
标题:
Medical system for monitoring a blood clotting value of a patient
授权日:
1900-01-01
公开(公告)号:
EP1226781A2
申请日:
2002-01-14
公开(公告)日:
2002-07-31
当前申请(专利权)人:
SIEMENS AKTIENGESELLSCHAFT
发明人:
CHRIST, TILO | HENGERER, ARNE, DR. | SCHMIDT, VOLKER, DR. | STRIEBEL, WERNER
简单同族:
DE10103330A1 | DE10103330B4 | EP1226781A2 | EP1226781A3 | US20020099283A1 | US6730026
简单同族成员数量:
6
简单同族被引用专利总数:
69
诉讼案件数:
0
法律状态/事件:
撤回