首页
专利数据库
产业人才
行业动态
产业政策法规
维权援助
个人中心
登录/注册
详情
文本
图像
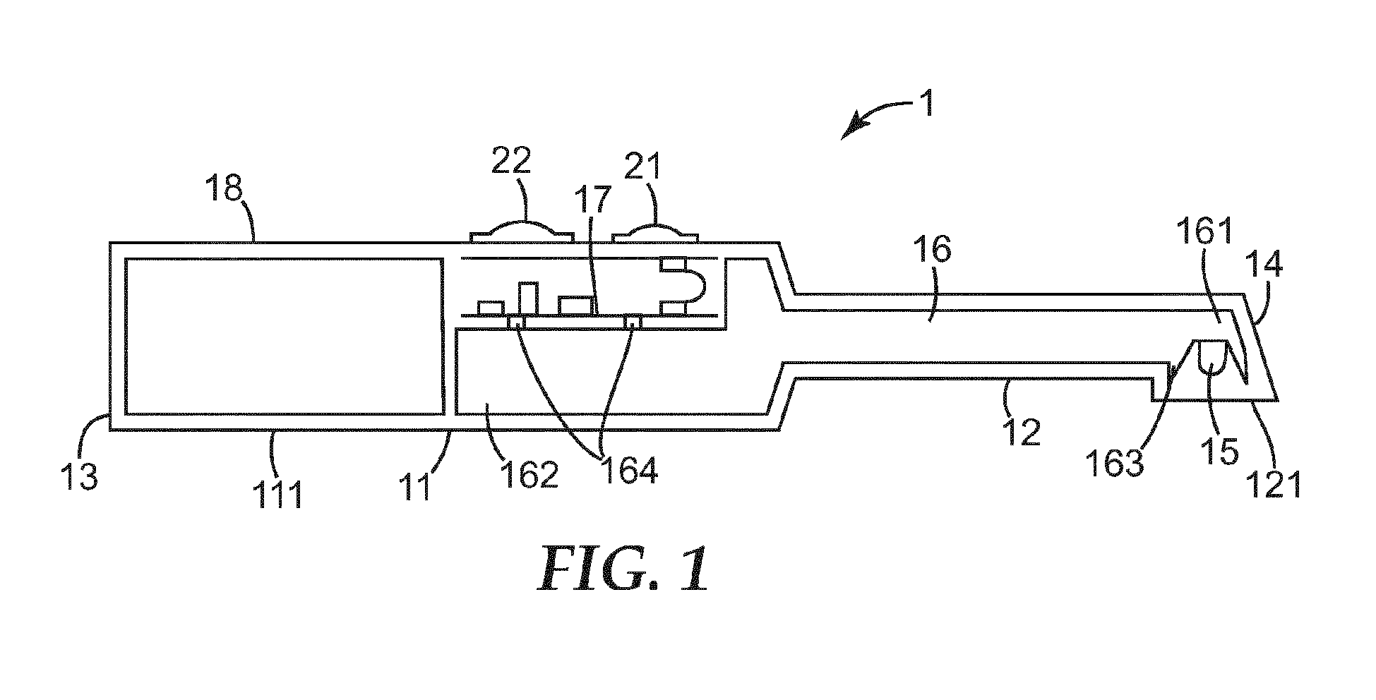
标题:
A dental light irradiation device
授权日:
1900-01-01
公开(公告)号:
EP3146935A1
申请日:
2015-09-24
公开(公告)日:
2017-03-29
当前申请(专利权)人:
3M INNOVATIVE PROPERTIES COMPANY
发明人:
SCHEPKE-GERLACH, KORBINIAN | HARRE, MANFRED | BISSINGER, PETER
简单同族:
EP3146935A1 | US20190083218A1 | WO2017053300A1
简单同族成员数量:
3
简单同族被引用专利总数:
0
诉讼案件数:
0
法律状态/事件:
撤回