首页
专利数据库
产业人才
行业动态
产业政策法规
维权援助
个人中心
登录/注册
详情
文本
图像
标题:
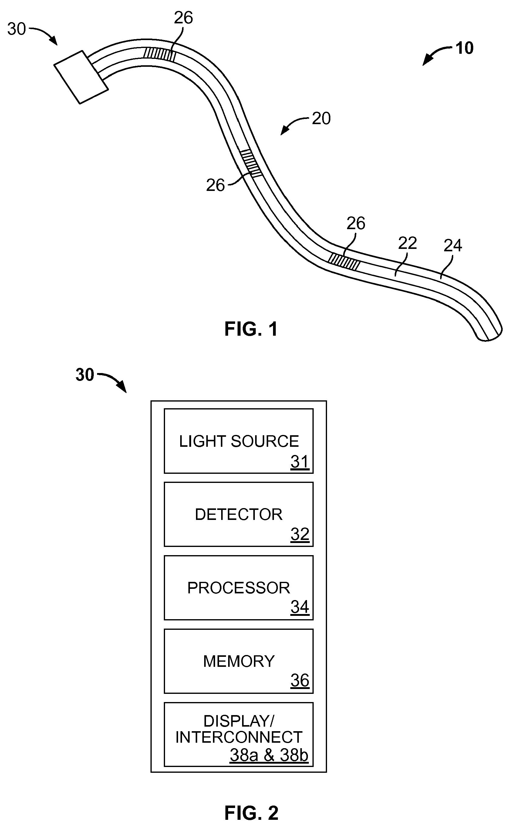
Bone healing probe
授权日:
1900-01-01
公开(公告)号:
EP3108807A1
申请日:
2016-06-23
公开(公告)日:
2016-12-28
当前申请(专利权)人:
STRYKER EUROPEAN HOLDINGS I, LLC
发明人:
BUESCHER, ROBIN | NASSUTT, ROMAN
简单同族:
EP3108807A1 | US20160374561A1
简单同族成员数量:
2
简单同族被引用专利总数:
0
诉讼案件数:
0
法律状态/事件:
公开