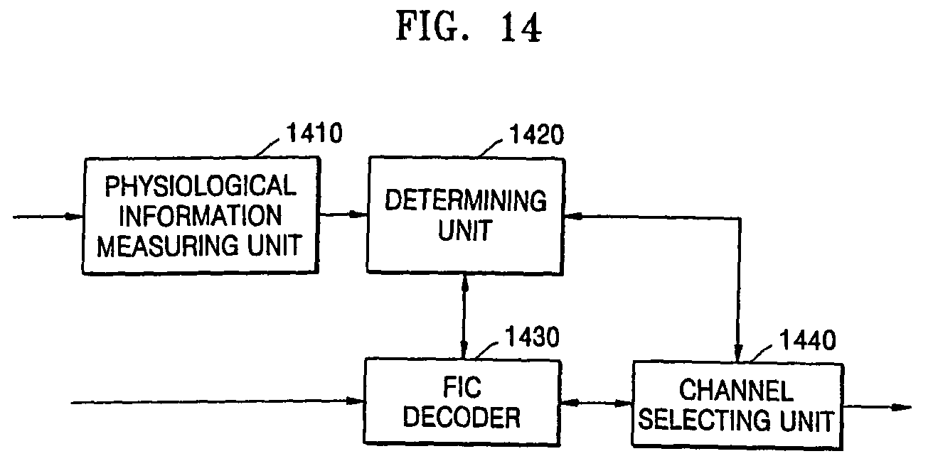
标题:
Method of and apparatus for automatically selecting broadcast service according to physiological state of user
授权日:
1900-01-01
公开(公告)号:
EP1610479A2
申请日:
2005-06-13
公开(公告)日:
2005-12-28
当前申请(专利权)人:
SAMSUNG ELECTRONICS CO., LTD.
发明人:
SEO, JU-HEE, 108-103 NULPUREN BYUCKSAN APT. | PARK, JEONG-HOON | YOUM, SUN-HEE | PARK, SUNG-IL | PARK, JU-HEE, 901-1001 BYUCKJEOKGOL 9-DANJI APT.
简单同族:
CN1707985A | EP1610479A2 | EP1610479A3 | KR1020050117829A | US20050277814A1
简单同族成员数量:
5
简单同族被引用专利总数:
12
诉讼案件数:
0
法律状态/事件:
撤回