首页
专利数据库
产业人才
行业动态
产业政策法规
维权援助
个人中心
登录/注册
详情
文本
图像
标题:
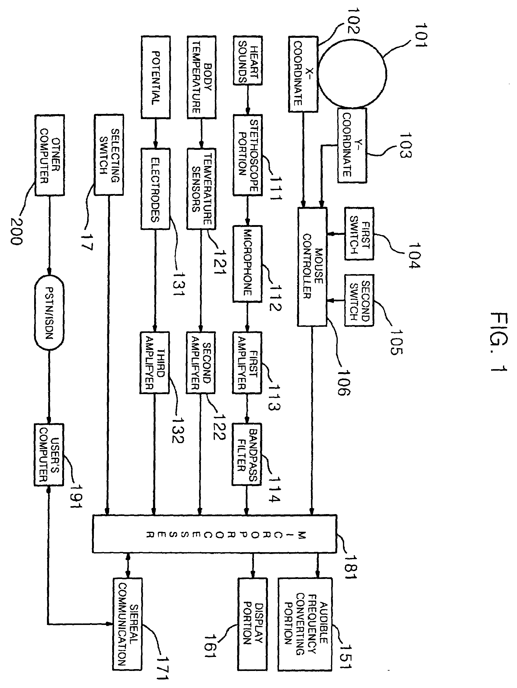
Stethoscope mouse
授权日:
1900-01-01
公开(公告)号:
EP1153573A2
申请日:
2001-05-10
公开(公告)日:
2001-11-14
当前申请(专利权)人:
KIM, JAENAM | LEDART CO., LTD.
发明人:
KIM, JAENAM
简单同族:
CN1323569A | EP1153573A2 | EP1153573A3 | JP2002052022A | KR100339987B1 | KR1020010104187A | US20010041845A1
简单同族成员数量:
7
简单同族被引用专利总数:
63
诉讼案件数:
0
法律状态/事件:
撤回