首页
专利数据库
产业人才
行业动态
产业政策法规
维权援助
个人中心
登录/注册
详情
文本
图像
标题:
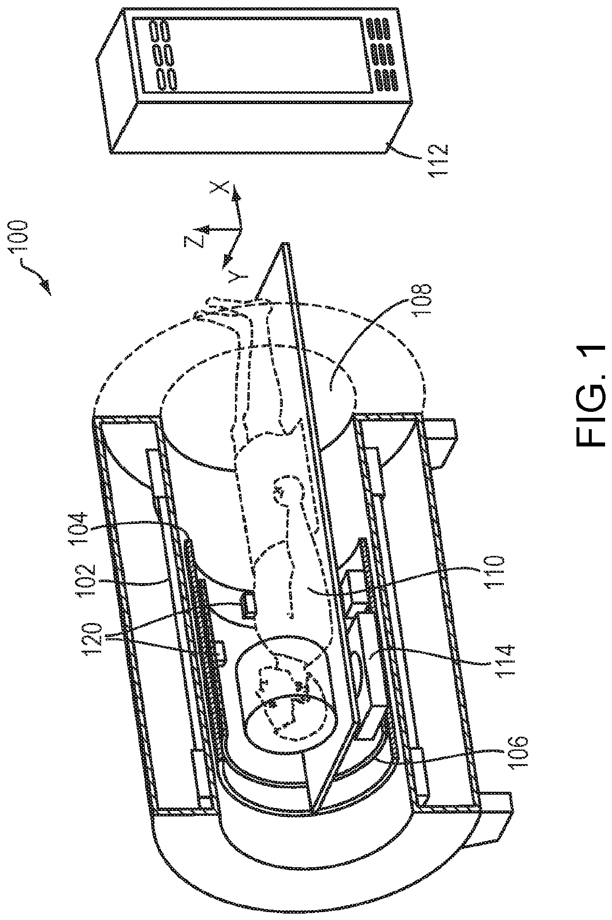
Motion tracking during non-invasive therapy
授权日:
2020-02-26
公开(公告)号:
EP3469390B1
申请日:
2017-06-05
公开(公告)日:
2020-02-26
当前申请(专利权)人:
INSIGHTEC, LTD.
发明人:
LEVY, YOAV
简单同族:
CN109196369A | EP3469390A1 | EP3469390B1 | JP2019522517A | US10475192 | US20170358095A1 | WO2017212336A1
简单同族成员数量:
7
简单同族被引用专利总数:
4
诉讼案件数:
0
法律状态/事件:
授权 | 权利转移