首页
专利数据库
产业人才
行业动态
产业政策法规
维权援助
个人中心
登录/注册
详情
文本
图像
标题:
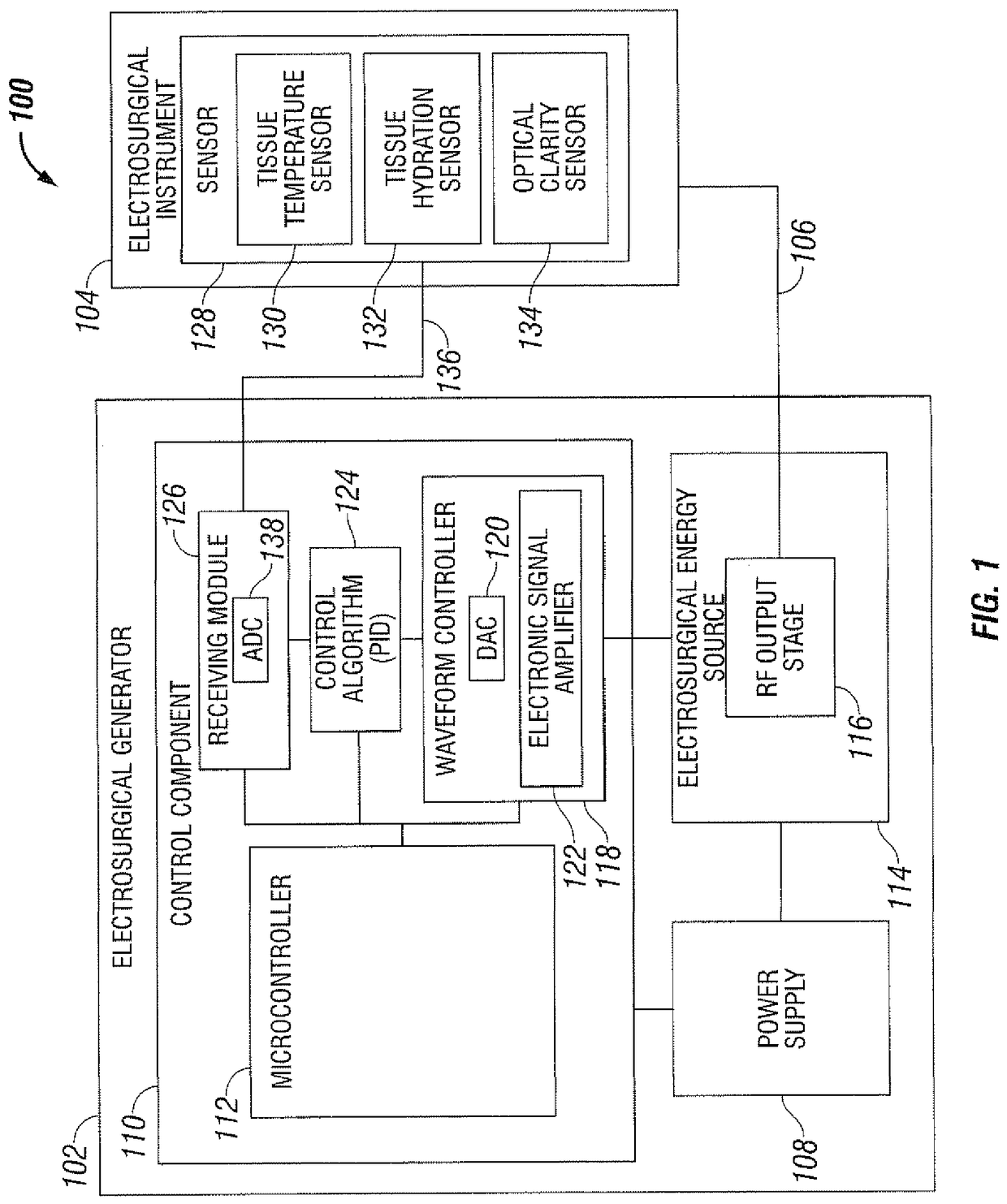
Electrosurgical instrument including a sensor
授权日:
2018-05-16
公开(公告)号:
EP2156800B1
申请日:
2009-08-19
公开(公告)日:
2018-05-16
当前申请(专利权)人:
COVIDIEN LP
发明人:
CARLTON, JOHN D. | ODOM, DARREN
简单同族:
EP2156800A1 | EP2156800B1 | JP2010046482A | US20100049187A1 | US9603652
简单同族成员数量:
5
简单同族被引用专利总数:
115
诉讼案件数:
0
法律状态/事件:
授权 | 权利转移