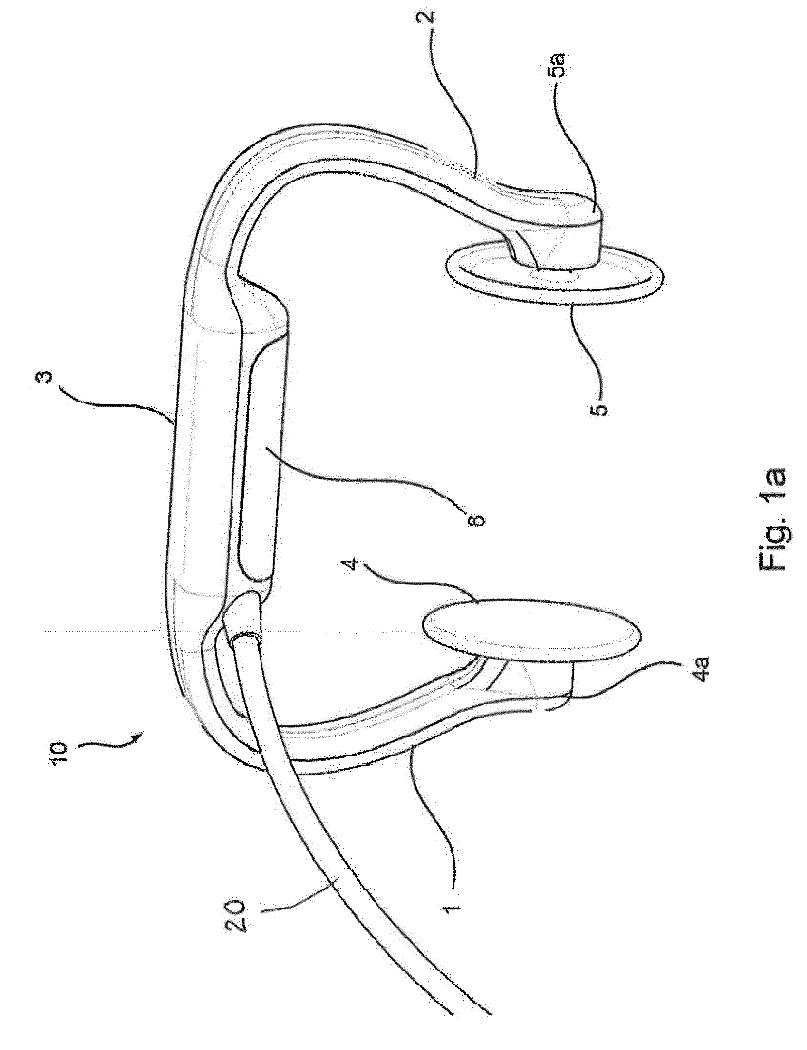
标题:
Pulse meter for new-borns
授权日:
2016-07-13
公开(公告)号:
EP2900128B1
申请日:
2013-09-18
公开(公告)日:
2016-07-13
当前申请(专利权)人:
LAERDAL MEDICAL AS
发明人:
EILEVSTJØNN, JOAR | MYKLEBUST, HELGE | GOMO, ØYSTEIN | MOLDEN, MATHIAS | FOSSAN, HELGE
简单同族:
AU2013322868A1 | AU2013322868B2 | CN104703535A | CN104703535B | EP2900128A2 | EP2900128B1 | ES2594879T3 | JP2015532846A | JP6207613B2 | KR1020150060928A | US20150272503A1 | WO2014048807A2 | WO2014048807A3
简单同族成员数量:
13
简单同族被引用专利总数:
6
诉讼案件数:
0
法律状态/事件:
授权