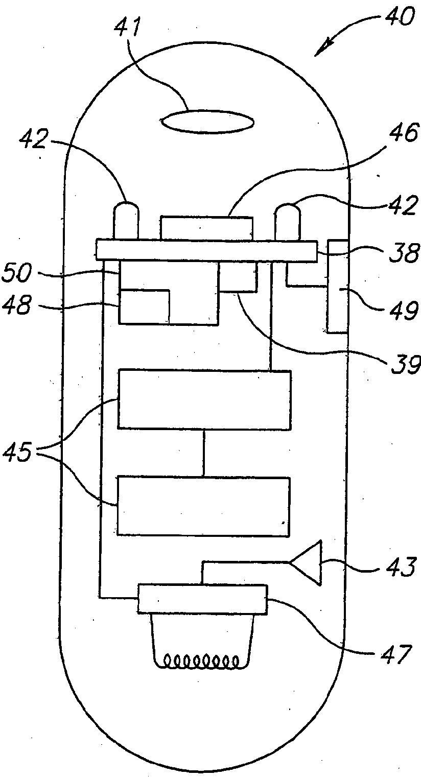
标题:
Device, system and method for selective activation of in vivo sensors
授权日:
1900-01-01
公开(公告)号:
EP1578260A4
申请日:
2003-12-16
公开(公告)日:
2008-05-21
当前申请(专利权)人:
GIVEN IMAGING LTD.
发明人:
GLUKHOVSKY, ARKADY | FRISCH, MORDECHAI | DAVIDSON, TAL | MERON, GAVRIEL
简单同族:
AU2003285756A1 | AU2003285756A8 | EP1578260A2 | EP1578260A4 | EP1578260B1 | JP2006509574A | US20060155174A1 | US20100324381A1 | US8216130 | WO2004054430A2 | WO2004054430A3
简单同族成员数量:
11
简单同族被引用专利总数:
365
诉讼案件数:
0
法律状态/事件:
授权 | 权利转移