首页
专利数据库
产业人才
行业动态
产业政策法规
维权援助
个人中心
登录/注册
详情
文本
图像
标题:
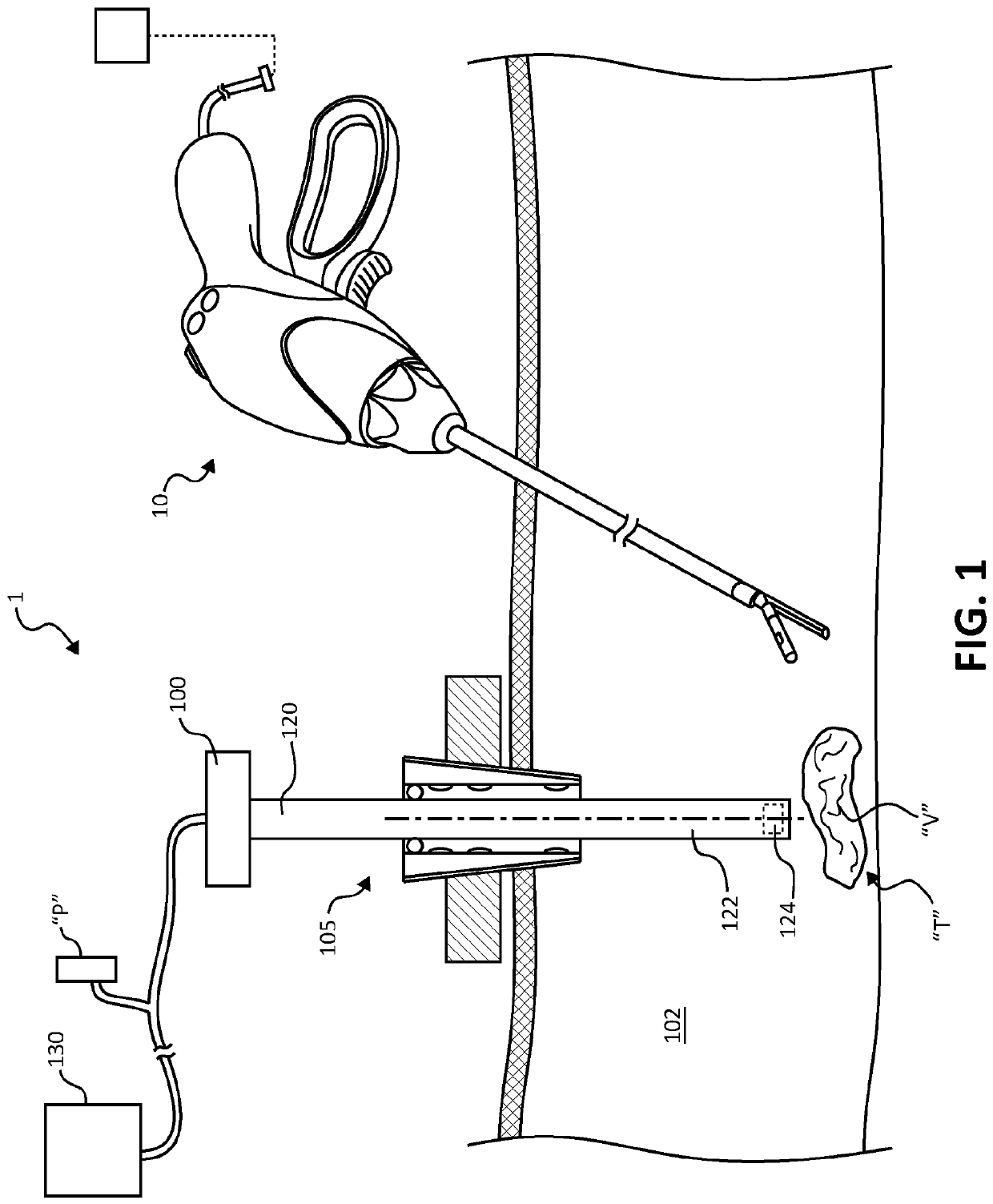
Surgical imaging system and methods of use thereof
授权日:
1900-01-01
公开(公告)号:
EP3626153A1
申请日:
2019-09-20
公开(公告)日:
2020-03-25
当前申请(专利权)人:
COVIDIEN LP
发明人:
VARADHAN, SRIDHARAN | POOLA, ANANTH | VADALI, K V S MANOJ KUMAR
简单同族:
CN110934559A | EP3626153A1 | US20200093420A1
简单同族成员数量:
3
简单同族被引用专利总数:
0
诉讼案件数:
0
法律状态/事件:
公开