首页
专利数据库
产业人才
行业动态
产业政策法规
维权援助
个人中心
登录/注册
详情
文本
图像
标题:
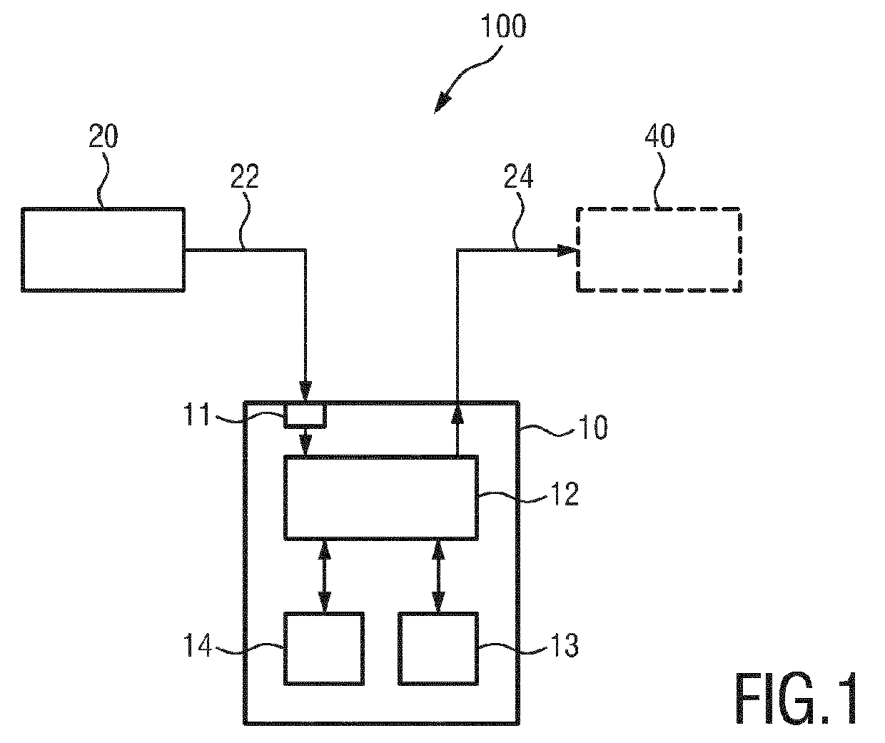
Device, system and method for determining a stress level of a user
授权日:
1900-01-01
公开(公告)号:
EP3594963A1
申请日:
2018-07-11
公开(公告)日:
2020-01-15
当前申请(专利权)人:
KONINKLIJKE PHILIPS N.V.
发明人:
OUWERKERK, MARTIN | DENISSEN, ADRIANUS JOHANNES MARIA | WESTERINK, JOANNE HENRIËTTE DESIRÉE MONIQUE
简单同族:
EP3594963A1 | WO2020011570A1
简单同族成员数量:
2
简单同族被引用专利总数:
0
诉讼案件数:
0
法律状态/事件:
公开 | 权利转移