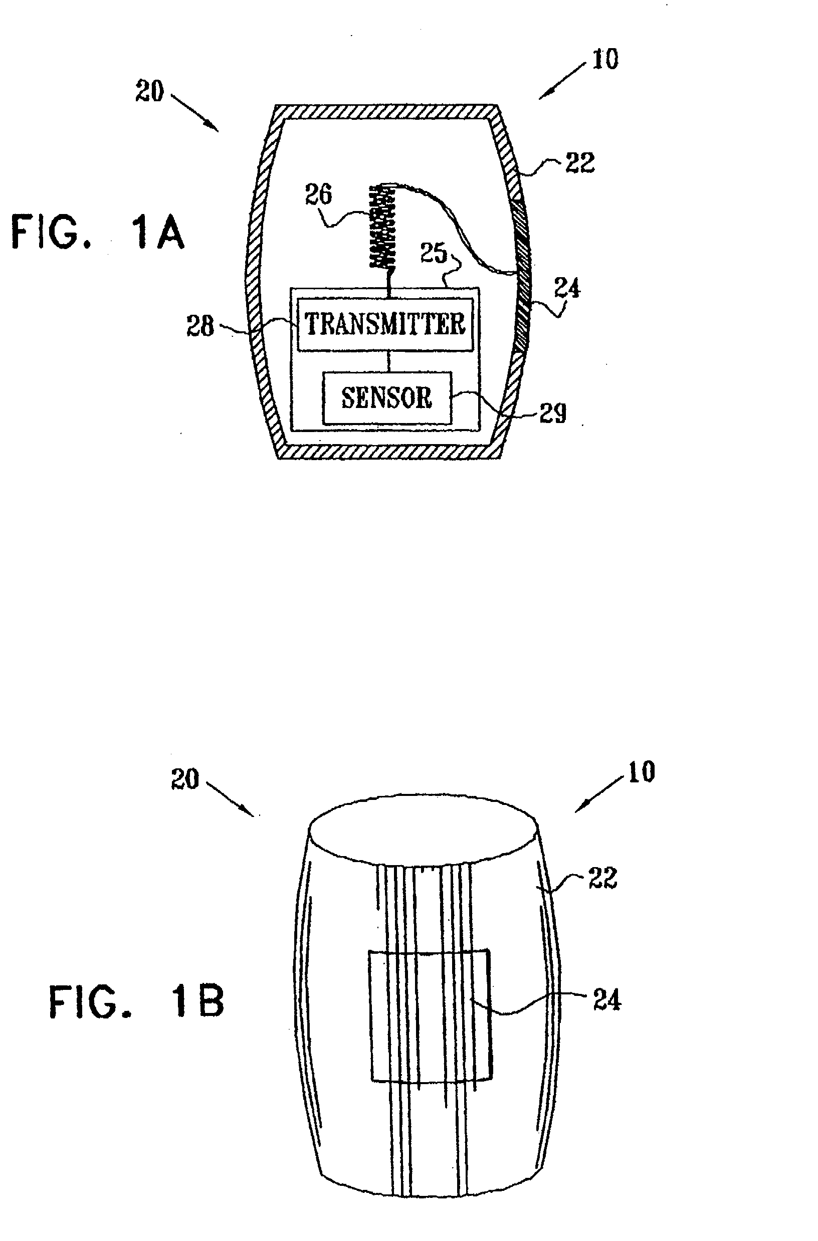
标题:
Encapsulated sensor with external antenna
授权日:
1900-01-01
公开(公告)号:
EP1502540A1
申请日:
2004-07-30
公开(公告)日:
2005-02-02
当前申请(专利权)人:
BIOSENSE WEBSTER, INC.
发明人:
GOVARI, ASSAF
简单同族:
AT489887T | AU2004203487A1 | AU2004203487B2 | CA2475917A1 | CA2475917C | DE602004030304D1 | EP1502540A1 | EP1502540B1 | HK1070546A | HK1070546A1 | IL163271A | JP2005087726A | JP4808391B2 | KR1020050014753A | US20050027330A1 | US7295877
简单同族成员数量:
16
简单同族被引用专利总数:
114
诉讼案件数:
0
法律状态/事件:
授权