首页
专利数据库
产业人才
行业动态
产业政策法规
维权援助
个人中心
登录/注册
详情
文本
图像
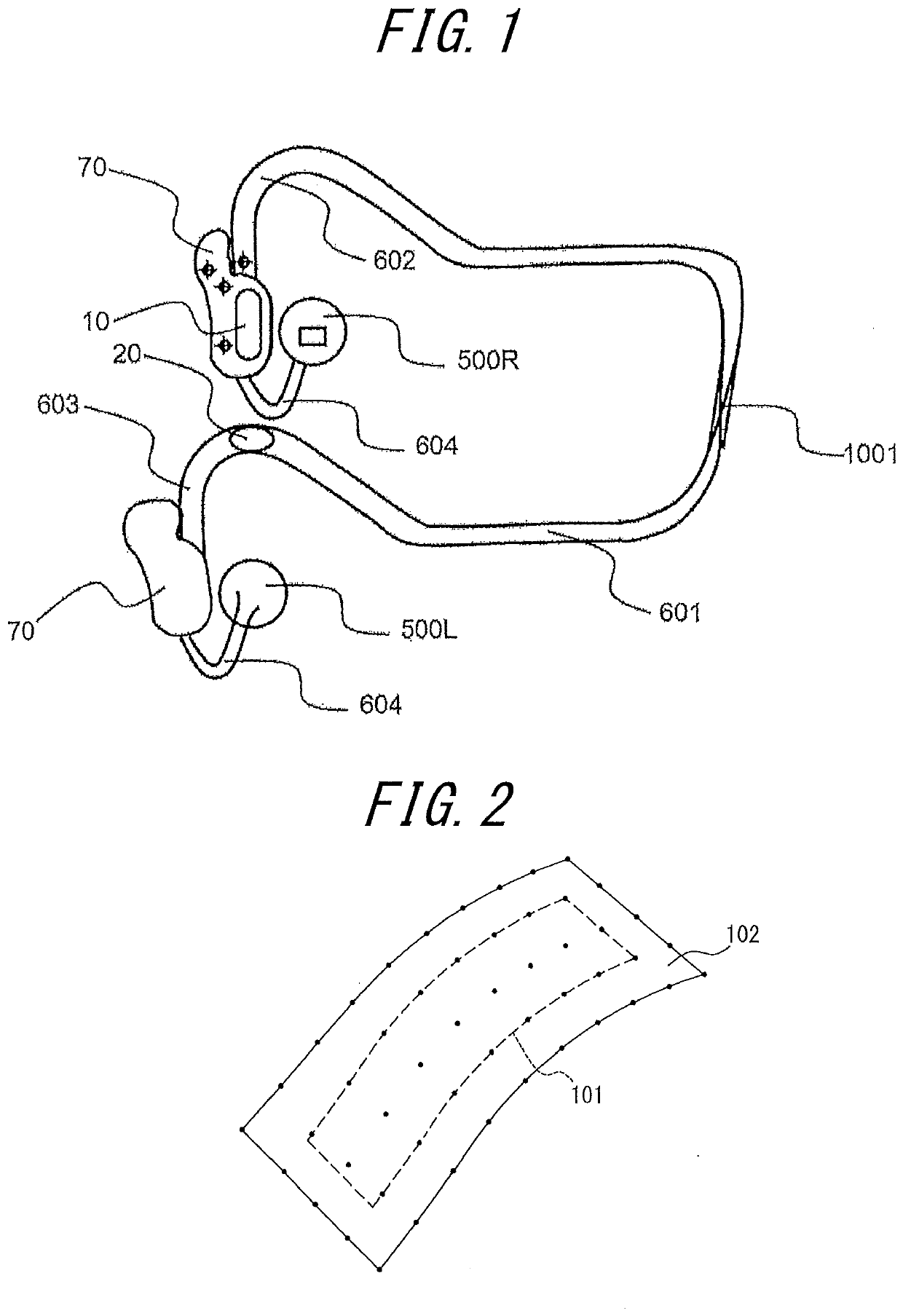
标题:
Audio device
授权日:
2020-02-12
公开(公告)号:
EP2999233B1
申请日:
2015-08-20
公开(公告)日:
2020-02-12
当前申请(专利权)人:
KYOCERA CORPORATION
发明人:
INAGAKI, TOMOHIRO | HIRANO, ASAO
简单同族:
EP2999233A1 | EP2999233B1 | JP2016055155A | JP6219889B2 | US10335084 | US20160066851A1
简单同族成员数量:
6
简单同族被引用专利总数:
9
诉讼案件数:
0
法律状态/事件:
授权