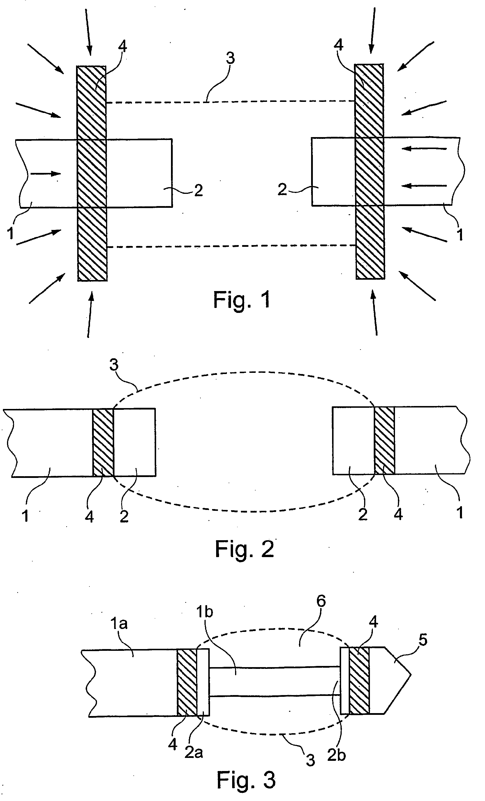
标题:
A probe comprising a micro fluidic system and a method of attaching a membrane to a tube
授权日:
2016-09-21
公开(公告)号:
EP1937134B1
申请日:
2006-08-22
公开(公告)日:
2016-09-21
当前申请(专利权)人:
FLOWSION A/S
发明人:
DIRAC, HOLGER | RASMUSSEN, PER, BRANDT | BRIEST, ARNE
简单同族:
CN101272729A | CN101272729B | EP1937134A1 | EP1937134B1 | US20090218272A1 | US8449772 | WO2007022775A1
简单同族成员数量:
7
简单同族被引用专利总数:
4
诉讼案件数:
0
法律状态/事件:
授权 | 权利转移