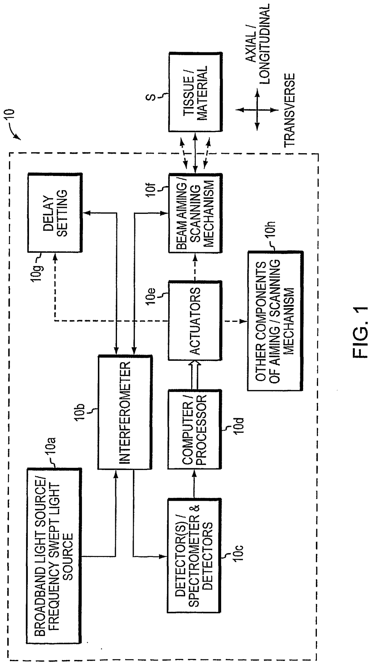
标题:
Methods and apparatus for optical coherence tomography scanning
授权日:
2017-11-29
公开(公告)号:
EP1858402B1
申请日:
2006-01-20
公开(公告)日:
2017-11-29
当前申请(专利权)人:
MASSACHUSETTS INSTITUTE OF TECHNOLOGY
发明人:
SRINIVASAN, VIVEK | FUJIMOTO, JAMES | KO, TONY | WOTJKOWSKI, MACIEJ | HUBER, ROBERT
简单同族:
CA2595324A1 | CA2595324C | EP1858402A1 | EP1858402B1 | EP2417903A1 | US20060187462A1 | US20110134394A1 | US7884945 | US8405834 | WO2006078802A1
简单同族成员数量:
10
简单同族被引用专利总数:
386
诉讼案件数:
0
法律状态/事件:
授权 | 权利转移