标题:
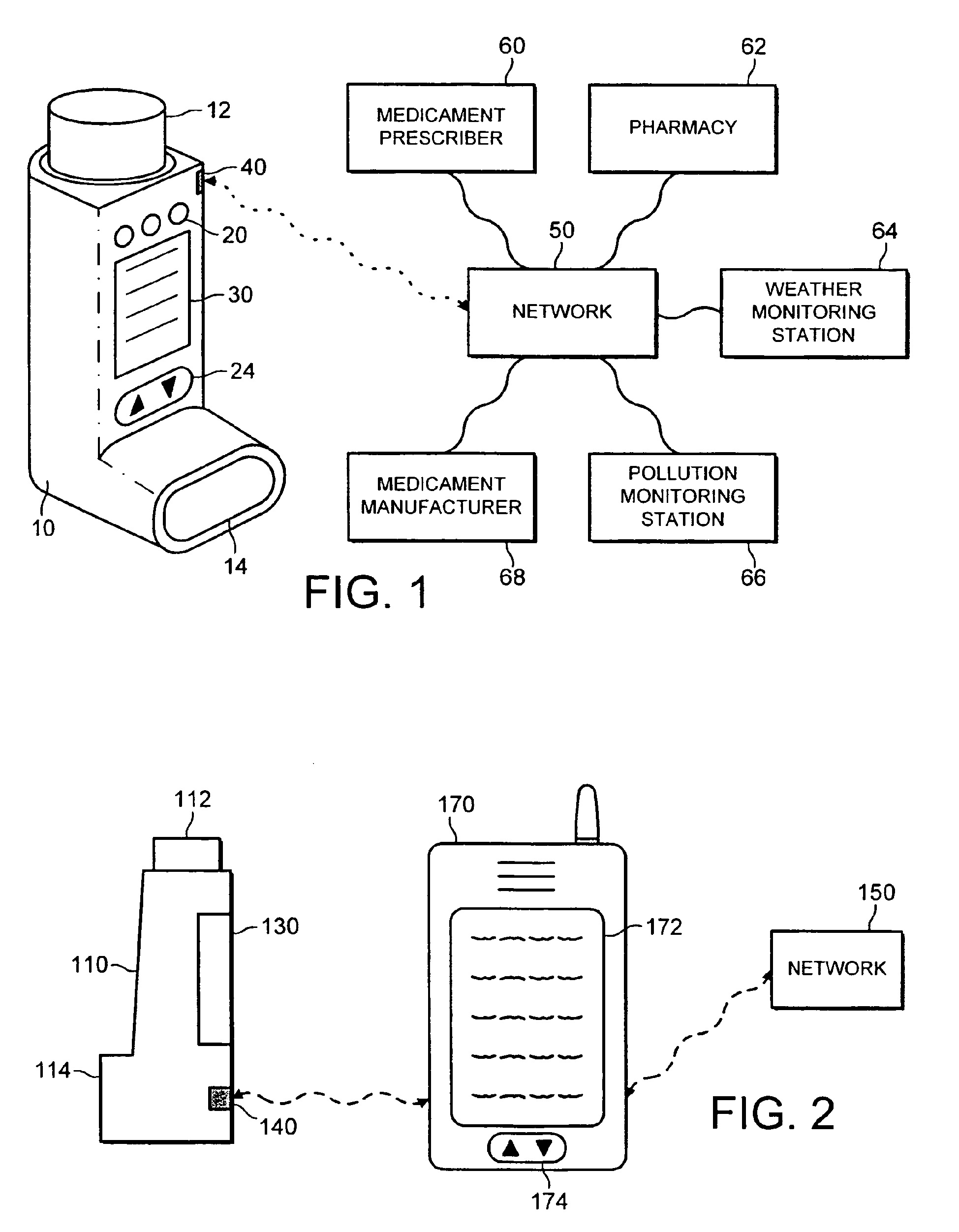
Medicament delivery system
授权日:
2006-08-30
公开(公告)号:
EP1223855B1
申请日:
2000-09-22
公开(公告)日:
2006-08-30
当前申请(专利权)人:
GLAXO GROUP LIMITED
发明人:
ANDERSON, GREGOR, JOHN | BONNEY, STANLEY, GEORGE | JONES, ANTHONY, PATRICK | ROBERTSON, DUNCAN
简单同族:
AT337725T | AT364873T | AU2000077806A1 | AU2000077807A1 | AU2000079062A1 | DE60030457D1 | DE60030457T2 | DE60035212D1 | DE60035212T2 | EP1223855A1 | EP1223855B1 | EP1224600A1 | EP1224600B1 | EP1224601A1 | EP1712178A2 | EP1712178A3 | JP2003510736A | JP2003511124A | JP2003511760A | US6958691 | WO2001024690A2 | WO2001024690A3 | WO2001026020A1 | WO2001026021A1
简单同族成员数量:
24
简单同族被引用专利总数:
462
诉讼案件数:
0
法律状态/事件:
授权