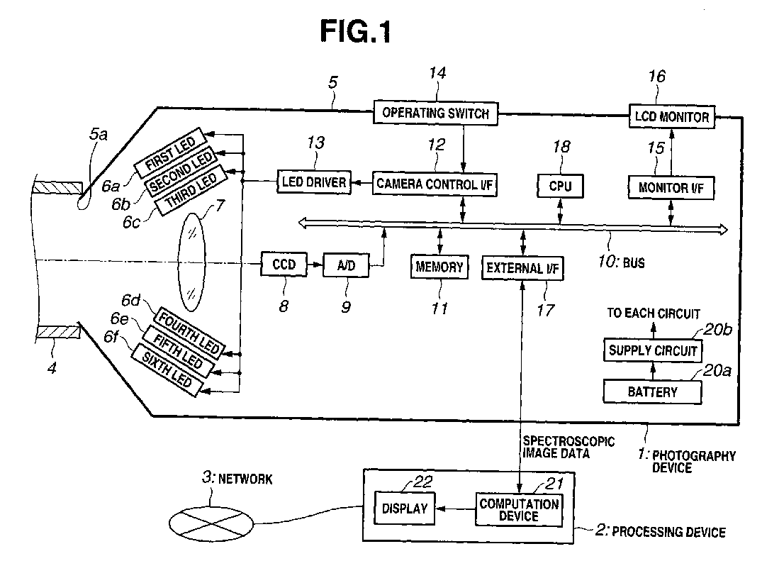
标题:
Image processing system and camera
授权日:
1900-01-01
公开(公告)号:
EP1707928A1
申请日:
2005-01-21
公开(公告)日:
2006-10-04
当前申请(专利权)人:
OLYMPUS CORPORATION
发明人:
KONNO, OSAMU, OLYMPUS I P SERVICES CO, LTD. | KOMIYA, YASUHIRO OLYMPUS I P SERVICES CO., LTD. | WADA, TORU OLYMPUS I P SERVICES CO., LTD. | SATO, NOBUMASA OLYMPUS I P SERVICES CO., LTD.
简单同族:
CN101699850A | CN101701849A | CN1910431A | EP1707928A1 | EP1707928A4 | JP4088313B2 | JPWO2005071372A1 | US20060251408A1 | US20080259336A1 | US20080284902A1 | US20080292295A1 | US7711252 | US7826728 | WO2005071372A1
简单同族成员数量:
14
简单同族被引用专利总数:
244
诉讼案件数:
0
法律状态/事件:
撤回