标题:
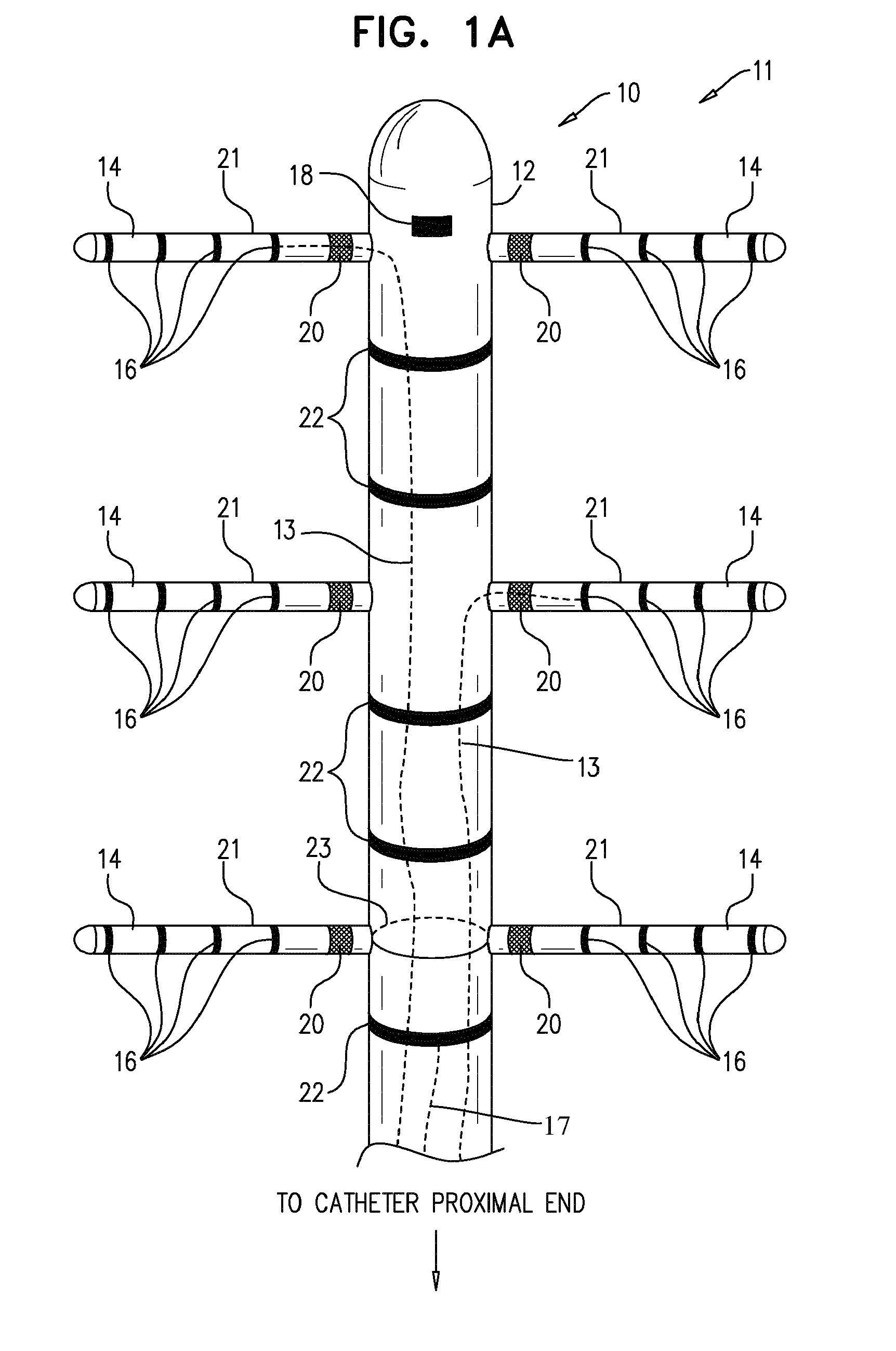
Catheter with transverse branches
授权日:
1900-01-01
公开(公告)号:
EP2907462A1
申请日:
2015-02-11
公开(公告)日:
2015-08-19
当前申请(专利权)人:
BIOSENSE WEBSTER (ISRAEL) LTD.
发明人:
ZINO, ELIAHU | IGRA, NOAM | AUERBACH, SHMUEL | URMAN, ROY | ZRIHAM, YANIV BEN | PRESSMAN, ASSAF
简单同族:
AU2015200660A1 | AU2015200660B2 | AU2019202042A1 | CA2881062A1 | CN104825225A | CN104825225B | CN110575247A | EP2907462A1 | EP2907462B1 | EP3420991A1 | EP3420991B1 | ES2694376T3 | IL236970A | JP2015154929A | US20150223715A1 | US9750422
简单同族成员数量:
16
简单同族被引用专利总数:
12
诉讼案件数:
0
法律状态/事件:
授权 | 权利转移