首页
专利数据库
产业人才
行业动态
产业政策法规
维权援助
个人中心
登录/注册
详情
文本
图像
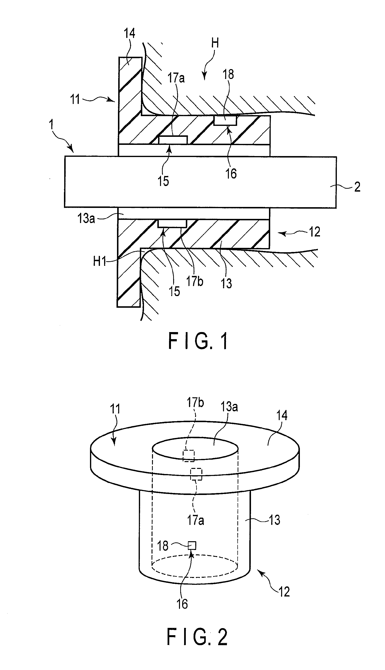
标题:
Insertion inlet fitting
授权日:
1900-01-01
公开(公告)号:
EP2719316A1
申请日:
2012-06-05
公开(公告)日:
2014-04-16
当前申请(专利权)人:
OLYMPUS CORPORATION
发明人:
ITO, TAKESHI
简单同族:
EP2719316A1 | EP2719316A4 | EP2719316B1 | JP2012254128A | JP5816464B2 | US20140094649A1 | WO2012169491A1
简单同族成员数量:
7
简单同族被引用专利总数:
8
诉讼案件数:
0
法律状态/事件:
授权 | 权利转移