首页
专利数据库
产业人才
行业动态
产业政策法规
维权援助
个人中心
登录/注册
详情
文本
图像
标题:
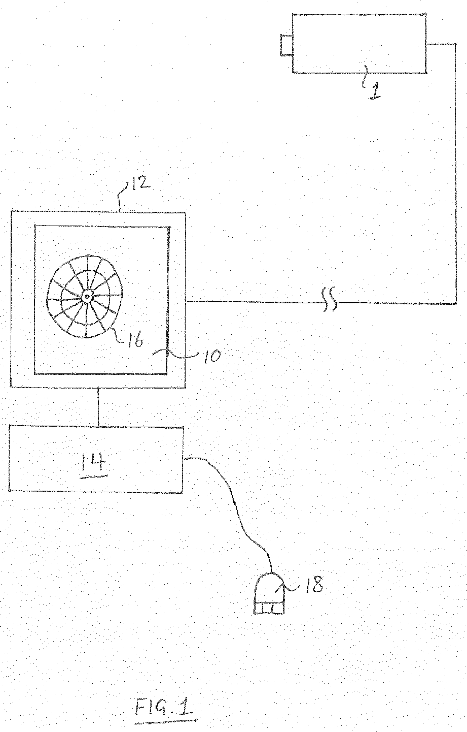
Thermographic imaging system
授权日:
1900-01-01
公开(公告)号:
EP3113115A1
申请日:
2016-07-04
公开(公告)日:
2017-01-04
当前申请(专利权)人:
WILLIAMS, JUSTIN | FLETCHER, SIMON
发明人:
WILLIAMS, JUSTIN | FLETCHER, SIMON
简单同族:
EP3113115A1 | GB201511719D0 | GB2539963A
简单同族成员数量:
3
简单同族被引用专利总数:
0
诉讼案件数:
0
法律状态/事件:
公开