首页
专利数据库
产业人才
行业动态
产业政策法规
维权援助
个人中心
登录/注册
详情
文本
图像
标题:
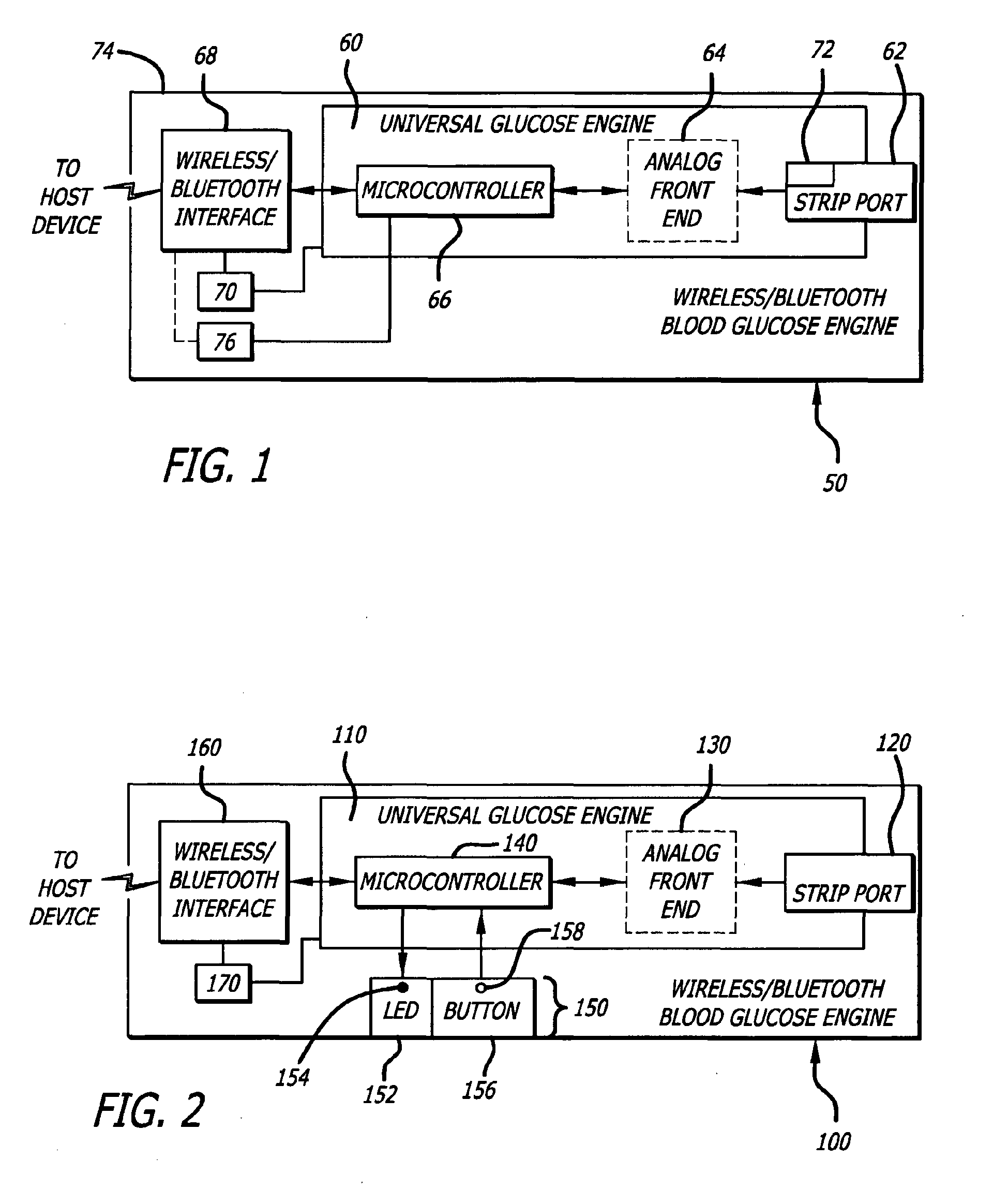
Glucose monitoring system with wireless communications
授权日:
2014-12-03
公开(公告)号:
EP2434944B1
申请日:
2010-05-28
公开(公告)日:
2014-12-03
当前申请(专利权)人:
ABBOTT DIABETES CARE, INC.
发明人:
OW-WING, KEVIN
简单同族:
EP2434944A1 | EP2434944B1 | US20100305421A1 | US20130216434A1 | US20150264517A1 | US8372351 | WO2010138817A1
简单同族成员数量:
7
简单同族被引用专利总数:
97
诉讼案件数:
0
法律状态/事件:
授权